Dokument drucken
   |   
   |    Normen-Umstellung



ISO 10513
Sechskantmutter, Klemmteil Metall
(austauschbar mit DIN 980)
Kein Bild vorhanden
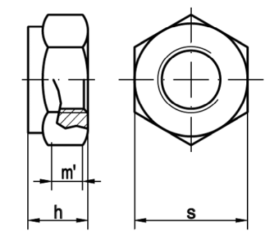
MaßeM 3M 4M 5M 6M 8M 10M 12M 14M 16M 18M 20M 22M 24
h max.3,74,25,1681012141618202224
m min.--3,523,925,156,438,309,6811,28-13,52-16,16
s5,5781013161821242730-36
MaßeM 27M 30M 33M 36         
h max.27303336         
m min.-19,44-23,52         
s41465055         
Normenumstellungs-Tabelle

DIN Durchmesser DIN Hinweistext DIN Änderungstext ISO Durchmesser ISO Hinweistext ISO
DIN 980 4 SW=7; m=4,2; m'=2,2 Mutternhöhen (m), Schlüsselangriffsflächen (m') und Schlüsselweiten (SW) ab M 4 teilweise geändert ISO 10513 4 -
DIN 980 5 SW=8; m=5,1; m'=2,75 Mutternhöhen (m), Schlüsselangriffsflächen (m') und Schlüsselweiten (SW) ab M 4 teilweise geändert ISO 10513 5 SW=8; m=5,1; m'=3,52
DIN 980 6 SW=10; m=6; m'=3,3 Mutternhöhen (m), Schlüsselangriffsflächen (m') und Schlüsselweiten (SW) ab M 4 teilweise geändert ISO 10513 6 SW=10; m=6; m'=3,92
DIN 980 7 SW=11; m=7; m'=3,85 Mutternhöhen (m), Schlüsselangriffsflächen (m') und Schlüsselweiten (SW) ab M 4 teilweise geändert ISO 10513 7 -
DIN 980 10 SW=17; m=10; m'=5,5 Mutternhöhen (m), Schlüsselangriffsflächen (m') und Schlüsselweiten (SW) ab M 4 teilweise geändert ISO 10513 10 SW=16; m=10; m'=6,43
DIN 980 12 SW=19; m=12; m'=6,6 Mutternhöhen (m), Schlüsselangriffsflächen (m') und Schlüsselweiten (SW) ab M 4 teilweise geändert ISO 10513 12 SW=18; m=12; m'=8,3
DIN 980 14 SW=22; m=14; m'=7,7 Mutternhöhen (m), Schlüsselangriffsflächen (m') und Schlüsselweiten (SW) ab M 4 teilweise geändert ISO 10513 14 SW=21; m=14,1; m'=9,68
DIN 980 22 SW=32; m=22; m'=12,2 Mutternhöhen (m), Schlüsselangriffsflächen (m') und Schlüsselweiten (SW) ab M 4 teilweise geändert ISO 10513 22 -
DIN 980 27 SW=41; m=27; m'=14,8 Mutternhöhen (m), Schlüsselangriffsflächen (m') und Schlüsselweiten (SW) ab M 4 teilweise geändert ISO 10513 27 -
DIN 980 30 SW=46; m=30; m'=16,5 Mutternhöhen (m), Schlüsselangriffsflächen (m') und Schlüsselweiten (SW) ab M 4 teilweise geändert ISO 10513 30 SW=46; m=30; m'=19,44
DIN 980 33 SW=50; m=33; m'=18,2 Mutternhöhen (m), Schlüsselangriffsflächen (m') und Schlüsselweiten (SW) ab M 4 teilweise geändert ISO 10513 33 -
DIN 980 36 SW=55; m=36; m'=19,8 Mutternhöhen (m), Schlüsselangriffsflächen (m') und Schlüsselweiten (SW) ab M 4 teilweise geändert ISO 10513 36 SW=55; m=36,1; m'=23,52


Alle Angaben ohne Gewähr, Irrtümer und Druckfehler vorbehalten. Technische Maße können teilweise umfangreicher als unser Lieferprogramm sein. © Wegertseder GmbH 1984 - 2025. Die kommerzielle Benutzung von Text und Bild ist nur mit vorheriger schriftlicher Zustimmung erlaubt. Bilder und PDF-Dateien enthalten digitale Signaturen, die auch teilweise oder veränderte Entnahme nachvollziehbar machen.




Version 3.24.2 - Servername: WEBAPP11


 
 Warenkorb
Zur Kasse | Drucken
 
Ihr Warenkorb ist leer

DIN 125 Unterlegscheiben Form A Stahl Klasse 140 HV

DIN 125 Unterlegscheiben Form A Stahl Klasse 140 HV
 
Artikel-Nr. 1490-208
Werkstoff STAHL - verzinkt
Norm DIN 125A
Abmessung A 4,3 f. M 4

Art. Konstruktionsschrauben, Innensechsrund (TX), Senkkopf, Teilgewinde, Importware

Art. Konstruktionsschrauben, Innensechsrund (TX), Senkkopf, Teilgewinde, Importware
 
Artikel-Nr. 4478-002
Werkstoff ROSTFREI A2
Norm Art. 82076
Abmessung 8 x 190 TX

DIN 937 Kronenmuttern niedrige Form, FEIN-Gewinde

DIN 937 Kronenmuttern niedrige Form, FEIN-Gewinde
 
Artikel-Nr. 3258-270
Werkstoff STAHL - blank
Norm DIN 937
Abmessung M 32 x 1,5
Unsere App - jetzt online!
NEU im Sortiment: Wir haben unser Dübelsortiment erweitert
Zertifizierung

Kundenbewertungen (2.159)
So entstehen unsere Kundenbewertungen

Unsere Kundenbewertungen einschließlich der Sternebewertungen können nur nach Bestellabschluss erstellt werden.

Dadurch ist sichergestellt, dass unser Bestellprozess, unser Service sowie unsere Produkte von echten Kunden bewertet werden, die ihre Erfahrungen mit ihnen teilen möchten.


"ich sags immer wieder NICHTS ändern! Ihr seid TOP!! Euer Versand ist der absolute OBERHAMMER * * * * *"
- Uwe Krippner

"es gibt keine z.B. Abstandshülsen Sehr gut sind die DIN/ISO Pdfs der Materialdaten "
- Matthias Zander

"Bin sehr zufrieden. Habe Euch auch schon weiterempfohlen."
-

"Wegertseder = Klasse Sortiment, übersichtlich, preiswert."
-

"Sehr guter Kundenservice "
-

Unsere Cookie-Richtlinien

Wir nutzen Cookies, um unsere Seite für Sie bestmöglich zu gestalten und dauerhaft zu verbessern. Weitere Informationen erhalten Sie in unserer Datenschutzerklärung. Ohne Ihre Zustimmung werden nur technisch notwendige Cookies verwendet.
AKZEPTIEREN
ABLEHNEN