Dokument drucken
   |   
   |    Normen-Umstellung



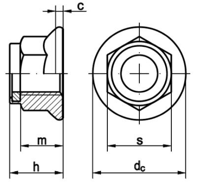
EN 1663
Sicherungs-Muttern mit Flansch und Polyamid-Klemmteil
(austauschbar mit DIN 6926)
Kein Bild vorhanden
Maße M 5 M 6 M 8 M 10 M 12 M 16
c min. 1 1,1 1,2 1,5 1,8 2,4
dc 11,8 14,2 17,9 21,8 26 34,5
h max. 7,1 9,1 11,1 13,5 16,1 20,3
m min. 4,7 5,7 7,6 9,6 11,6 15,3
s 8 10 13 16 18 24
Normenumstellungs-Tabelle

DIN Durchmesser DIN Hinweistext DIN Änderungstext ISO Durchmesser ISO Hinweistext ISO
DIN 6926 10 SW=15 Schlüsselweite (SW) bei M 10 geändert EN1663 10 SW=16


Alle Angaben ohne Gewähr, Irrtümer und Druckfehler vorbehalten. Technische Maße können teilweise umfangreicher als unser Lieferprogramm sein. © Wegertseder GmbH 1984 - 2025. Die kommerzielle Benutzung von Text und Bild ist nur mit vorheriger schriftlicher Zustimmung erlaubt. Bilder und PDF-Dateien enthalten digitale Signaturen, die auch teilweise oder veränderte Entnahme nachvollziehbar machen.




Version 3.24.2 - Servername: WEBAPP12


 
 Warenkorb
Zur Kasse | Drucken
 
Ihr Warenkorb ist leer

DIN 934 Sechskantmuttern

DIN 934 Sechskantmuttern
 
Artikel-Nr. 2888-006
Werkstoff STAHL 8 - verzinkt
Norm DIN 934
Abmessung M 3

Art. Spanplattenschrauben, Innensechsrund (TX), Senkkopf, Teilgewinde, Importware

Art. Spanplattenschrauben, Innensechsrund (TX), Senkkopf, Teilgewinde, Importware
 
Artikel-Nr. 4289-001
Werkstoff ROSTFREI A4
Norm Art. 81938
Abmessung 3 x 45 TX

ISO 7093 Flache Scheiben, große Reihe, 200 HV

ISO 7093 Flache Scheiben, große Reihe, 200 HV
 
Artikel-Nr. 4247-104
Werkstoff ROSTFREI A4 - 200 HV
Norm ISO 7093
Abmessung 15 f. M14
Unsere App - jetzt online!
Die Wegertseder-App: Lagernde Artikel sofort im Blick durch Verfügbarkeits-Info
Zertifizierung

Kundenbewertungen (2.175)
So entstehen unsere Kundenbewertungen

Unsere Kundenbewertungen einschließlich der Sternebewertungen können nur nach Bestellabschluss erstellt werden.

Dadurch ist sichergestellt, dass unser Bestellprozess, unser Service sowie unsere Produkte von echten Kunden bewertet werden, die ihre Erfahrungen mit ihnen teilen möchten.


"Einfacher Bestellprozess wenn man mal herausgefunden hat, wie man wieder auf die Startseite mit der Produktübersicht zurückkommt... Hier wäre ein dauerhafter Link in der Navigationsspalte links hilfreich."
-

"Alles toll, da ich das erste Mal bei Euch bestelle, kann ich zu der Lieferzeit und Verpackung nichts sagen. Ein entspanntes Wochenende und ich hoffe, das GLS morgen anliefert... ;-)"
- Michael Diekmann

"Ich habe bis heute noch nichts zu Beanstanden."
- Richard Fiedler jun.

"War schon Kunde mit anderer Firma bei Ihnen, von daher ist mir Fa. Wegertseder ein Begriff für Schrauben unterschiedlichster Art."
-

"vielen Dank für die gute Telefonische Unterstützung!"
-

Unsere Cookie-Richtlinien

Wir nutzen Cookies, um unsere Seite für Sie bestmöglich zu gestalten und dauerhaft zu verbessern. Weitere Informationen erhalten Sie in unserer Datenschutzerklärung. Ohne Ihre Zustimmung werden nur technisch notwendige Cookies verwendet.
AKZEPTIEREN
ABLEHNEN