Dokument drucken
   |   
   |    Normen-Umstellung



ISO 8736
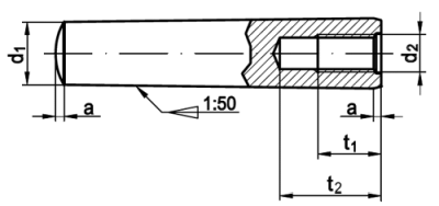
Kegelstifte mit Innengewinde, A= geschliffen, Kegel 1:50
(austauschbar mit DIN 7978)
Kein Bild vorhanden
Maße (d1) 6 8 10 12 16 20
a 0,8 1 1,2 1,6 2 2,5
d2 M 4 M 5 M 6 M 8 M 10 M 12
t1 6 8 10 12 16 18
t2 min. 10 12 16 20 25 27
ISO 8736 Kegelstifte mit Innengewinde, A= geschliffen, Kegel 1:50



Alle Angaben ohne Gewähr, Irrtümer und Druckfehler vorbehalten. Technische Maße können teilweise umfangreicher als unser Lieferprogramm sein. © Wegertseder GmbH 1984 - 2025. Die kommerzielle Benutzung von Text und Bild ist nur mit vorheriger schriftlicher Zustimmung erlaubt. Bilder und PDF-Dateien enthalten digitale Signaturen, die auch teilweise oder veränderte Entnahme nachvollziehbar machen.




Version 3.24.2 - Servername: WEBAPP11


 
 Warenkorb
Zur Kasse | Drucken
 
Ihr Warenkorb ist leer

DIN 912 Zylinderschrauben, mit Innensechskant

DIN 912 Zylinderschrauben, mit Innensechskant
 
Artikel-Nr. 2534-432
Werkstoff ROSTFREI A2
Norm DIN 912
Abmessung M 6 x 30

Art. Linsensenkkopf-Spanplattenschrauben, Innensechsrund (TX), Importware

Art. Linsensenkkopf-Spanplattenschrauben, Innensechsrund (TX), Importware
 
Artikel-Nr. 4285-014
Werkstoff ROSTFREI A4
Norm Art. 81876
Abmessung 4,5 x 20 TX

ISO 7089 Scheiben, gehärtet, gestanzt, ohne Fase, Produktklasse A(m) 200 HV

ISO 7089 Scheiben, gehärtet, gestanzt, ohne Fase, Produktklasse A(m) 200 HV
 
Artikel-Nr. 4958-809
Werkstoff STAHL 200 HV - verzinkt nitrocarburiert
Norm ISO 7089
Abmessung 28 f. M 27
Unsere App - jetzt online!
NEU im Sortiment: Zusätzlich über 15.000 neue Kleinmengen
Zertifizierung

Kundenbewertungen (2.174)
So entstehen unsere Kundenbewertungen

Unsere Kundenbewertungen einschließlich der Sternebewertungen können nur nach Bestellabschluss erstellt werden.

Dadurch ist sichergestellt, dass unser Bestellprozess, unser Service sowie unsere Produkte von echten Kunden bewertet werden, die ihre Erfahrungen mit ihnen teilen möchten.


"Schönen Gruß aus Schönburg !!!"
-

"Ihr seid die Besten! So solle es sein, Germany statt China! DANKE!"
- Konrad Wagner

"Alles toll, da ich das erste Mal bei Euch bestelle, kann ich zu der Lieferzeit und Verpackung nichts sagen. Ein entspanntes Wochenende und ich hoffe, das GLS morgen anliefert... ;-)"
- Michael Diekmann

"Weiter so!!!!"
-

"Ihr seid prima! Die schnelle Lieferung spart Lagerkosten. Auch die Maßübersichten sind prima! Grade bei Normteilen ist es schön, so einen verläßlichen Lieferanten zu haben - eine Sorge weniger! "
-

Unsere Cookie-Richtlinien

Wir nutzen Cookies, um unsere Seite für Sie bestmöglich zu gestalten und dauerhaft zu verbessern. Weitere Informationen erhalten Sie in unserer Datenschutzerklärung. Ohne Ihre Zustimmung werden nur technisch notwendige Cookies verwendet.
AKZEPTIEREN
ABLEHNEN