Dokument drucken
   |   
   |    Normen-Umstellung



ISO 2009
Senkschrauben mit Schlitz
(austauschbar mit DIN 963)
Kein Bild vorhanden
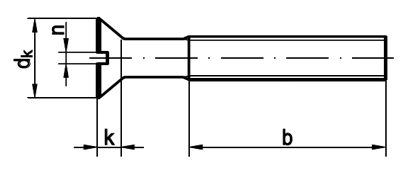
MaßeM 1M 1,2M 1,4M 1,6M2M 2,5M 3M 3,5M 4
dk1,92,32,633,84,75,57,38,4
k0,60,720,8411,21,51,652,352,7
b min.---151618193822
n0,250,30,30,40,50,60,811,2
MaßeM 5M 6M 8M 10M 12M 16M 20  
dk9,311,315,818,3222936  
k2,73,34,6556810  
b min.25283440465870  
n1,21,622,5345  
Normenumstellungs-Tabelle

DIN Durchmesser DIN Hinweistext DIN Änderungstext ISO Durchmesser ISO Hinweistext ISO
DIN 963 3,5 k=1,93; dk=6,5 Kopfhöhen (k) und Kopfdurchmesser (dk) ab M 3 geändert ISO 2009 3,5 k=2,35; dk=7,3


Alle Angaben ohne Gewähr, Irrtümer und Druckfehler vorbehalten. Technische Maße können teilweise umfangreicher als unser Lieferprogramm sein. © Wegertseder GmbH 1984 - 2025. Die kommerzielle Benutzung von Text und Bild ist nur mit vorheriger schriftlicher Zustimmung erlaubt. Bilder und PDF-Dateien enthalten digitale Signaturen, die auch teilweise oder veränderte Entnahme nachvollziehbar machen.




Version 3.24.2 - Servername: WEBAPP11


 
 Warenkorb
Zur Kasse | Drucken
 
Ihr Warenkorb ist leer

DIN 912 Zylinderschrauben, mit Innensechskant

DIN 912 Zylinderschrauben, mit Innensechskant
 
Artikel-Nr. 2524-022
Werkstoff STAHL 8.8 - verzinkt
Norm DIN 912
Abmessung M 4 x 16

Art. Senkkopf -Spanplattenschrauben Fräsrippen, Schneidkerbe, Innensechsrund (TX)

Art. Senkkopf -Spanplattenschrauben Fräsrippen, Schneidkerbe, Innensechsrund (TX)
 
Artikel-Nr. 4291-088
Werkstoff ROSTFREI A2
Norm Art. 81928
Abmessung 8 x 190 TX

FISCHER Gipskartondübel mit Eindrehwerkzeug GK

FISCHER Gipskartondübel mit Eindrehwerkzeug GK
 
Artikel-Nr. 5920-869
Werkstoff KUNSTSTOFF
Norm Art. 84680
Abmessung GK 4,0-5,0 x 22
Unsere App - jetzt online!
NEU im Sortiment: Zusätzlich über 15.000 neue Kleinmengen
Zertifizierung

Kundenbewertungen (2.174)
So entstehen unsere Kundenbewertungen

Unsere Kundenbewertungen einschließlich der Sternebewertungen können nur nach Bestellabschluss erstellt werden.

Dadurch ist sichergestellt, dass unser Bestellprozess, unser Service sowie unsere Produkte von echten Kunden bewertet werden, die ihre Erfahrungen mit ihnen teilen möchten.


"Sehr gut ist, dass man nach DIN-Nummern suchen kann und vor allem, dass man sich die DIN-Tabellen herunterladen kann. Aus diesem Grund bestelle ich immer wieder hier, da das andere nicht bieten."
- Matthias Zander

"ch bestelle hier schon seit Jahren und wurde noch nie enttäuscht. Die Qualität der Produkte ist durchweg hervorragend, der Versand zuverlässig und der Kundenservice freundlich und kompetent. Ein Shop, dem ich voll und ganz vertraue!"
-

"Anmerkung zur letzten Frage: bereits mehrfach weiterempfohlen"
-

"macht so weiter"
-

"War schon Kunde mit anderer Firma bei Ihnen, von daher ist mir Fa. Wegertseder ein Begriff für Schrauben unterschiedlichster Art."
-

Unsere Cookie-Richtlinien

Wir nutzen Cookies, um unsere Seite für Sie bestmöglich zu gestalten und dauerhaft zu verbessern. Weitere Informationen erhalten Sie in unserer Datenschutzerklärung. Ohne Ihre Zustimmung werden nur technisch notwendige Cookies verwendet.
AKZEPTIEREN
ABLEHNEN