Dokument drucken
   |   
   |   



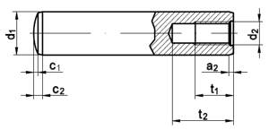
DIN 7979
Zylinderstifte mit Innengewinde, Passung m6, D=gehärtet
(entspricht keiner anderen Norm)
Kein Bild vorhanden
d1 m6 4 5 6 8 10 12 14 16 20 25 30 40
a2 0,5 0,6 0,8 1 1,2 1,6 1,8 2 2,5 3 4 5
c1 0,4 0,5 0,6 0,8 1 1,2 1,4 1,6 2 2,5 3 4
c2 1,3 1,7 2,1 2,6 3 3,8 4 4,7 6 6 7 8
d2 M 2 /M 3 M 3 M 4 M 5 M 6 M 6 M 8 M 8 M 10 M 16 M 20 M 20
t1 6 6 6 8 10 10 12 12 16 24 30 30
t2 min 7 7 10 12 16 16 20 20 25 34 42 42
DIN 7979 Zylinderstifte mit Innengewinde, Passung m6, D=gehärtet



Alle Angaben ohne Gewähr, Irrtümer und Druckfehler vorbehalten. Technische Maße können teilweise umfangreicher als unser Lieferprogramm sein. © Wegertseder GmbH 1984 - 2025. Die kommerzielle Benutzung von Text und Bild ist nur mit vorheriger schriftlicher Zustimmung erlaubt. Bilder und PDF-Dateien enthalten digitale Signaturen, die auch teilweise oder veränderte Entnahme nachvollziehbar machen.




Version 3.24.2 - Servername: WEBAPP12


 
 Warenkorb
Zur Kasse | Drucken
 
Ihr Warenkorb ist leer

DIN 912 Zylinderschrauben, mit Innensechskant

DIN 912 Zylinderschrauben, mit Innensechskant
 
Artikel-Nr. 2534-426
Werkstoff ROSTFREI A2
Norm DIN 912
Abmessung M 6 x 20

Art. Spanplattenschrauben, Innensechsrund (TX), Senkkopf, Vollgewinde, Importware

Art. Spanplattenschrauben, Innensechsrund (TX), Senkkopf, Vollgewinde, Importware
 
Artikel-Nr. 4405-027
Werkstoff ROSTFREI A4
Norm Art. 81939
Abmessung 6 x 20 TX
Hier finden Sie das zuletzt angesehene Produkt
Unsere App - jetzt online!
Die Wegertseder-App: Große Auswahl an Schrauben, Muttern, Nieten, ...
Zertifizierung

Kundenbewertungen (2.174)
So entstehen unsere Kundenbewertungen

Unsere Kundenbewertungen einschließlich der Sternebewertungen können nur nach Bestellabschluss erstellt werden.

Dadurch ist sichergestellt, dass unser Bestellprozess, unser Service sowie unsere Produkte von echten Kunden bewertet werden, die ihre Erfahrungen mit ihnen teilen möchten.


"Weiter so."
-

"ch bestelle hier schon seit Jahren und wurde noch nie enttäuscht. Die Qualität der Produkte ist durchweg hervorragend, der Versand zuverlässig und der Kundenservice freundlich und kompetent. Ein Shop, dem ich voll und ganz vertraue!"
-

"Klasse...weiter so!!!!!!!"
-

"war alles gut. Schwierigkeiten habe ich immer mal wieder (nicht nur bei euch) dadurch, dass die Nummern unterschiedlich heißen: - Bestellnummer, Artikelnummer - Auftragsnummer, Bestellnummer, Verwendungszweck"
- Matthias Schwarz

"Ich kaufe seit einigen Jahren nur noch über Ihren Shop die benötigten Schrauben und Normteile, da eigentlich jede Größe zu finden ist und die Lieferung sehr zügig geht."
-

Unsere Cookie-Richtlinien

Wir nutzen Cookies, um unsere Seite für Sie bestmöglich zu gestalten und dauerhaft zu verbessern. Weitere Informationen erhalten Sie in unserer Datenschutzerklärung. Ohne Ihre Zustimmung werden nur technisch notwendige Cookies verwendet.
AKZEPTIEREN
ABLEHNEN