Dokument drucken
   |   
   |   



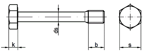
DIN 7964
Sechskantschraube mit dünnem Schaft
(entspricht keiner anderen Norm)
Kein Bild vorhanden
Maße M 8 M 10
s 13 16
k 5,3 6,4
ds (min) 6 7,5
b 10 12,5



Alle Angaben ohne Gewähr, Irrtümer und Druckfehler vorbehalten. Technische Maße können teilweise umfangreicher als unser Lieferprogramm sein. © Wegertseder GmbH 1984 - 2025. Die kommerzielle Benutzung von Text und Bild ist nur mit vorheriger schriftlicher Zustimmung erlaubt. Bilder und PDF-Dateien enthalten digitale Signaturen, die auch teilweise oder veränderte Entnahme nachvollziehbar machen.




Version 3.24.2 - Servername: WEBAPP11


 
 Warenkorb
Zur Kasse | Drucken
 
Ihr Warenkorb ist leer

DIN 934 Sechskantmuttern

DIN 934 Sechskantmuttern
 
Artikel-Nr. 2888-018
Werkstoff STAHL 8 - verzinkt
Norm DIN 934
Abmessung M 8

Art. PAN-HEAD-Spanplattenschrauben, Innensechsrund (TX), Importware

Art. PAN-HEAD-Spanplattenschrauben, Innensechsrund (TX), Importware
 
Artikel-Nr. 4283-019
Werkstoff ROSTFREI A4
Norm Art. 81900
Abmessung 4,5 x 80 TX

ISO 7092 Scheiben für Zylinderschrauben

ISO 7092 Scheiben für Zylinderschrauben
 
Artikel-Nr. 4499-812
Werkstoff MESSING
Norm ISO 7092
Abmessung 8,4 f. M 8
Unsere App - jetzt online!
NEU im Sortiment: Zusätzlich über 15.000 neue Kleinmengen
Zertifizierung

Kundenbewertungen (2.118)
So entstehen unsere Kundenbewertungen

Unsere Kundenbewertungen einschließlich der Sternebewertungen können nur nach Bestellabschluss erstellt werden.

Dadurch ist sichergestellt, dass unser Bestellprozess, unser Service sowie unsere Produkte von echten Kunden bewertet werden, die ihre Erfahrungen mit ihnen teilen möchten.


"Ich kaufe nun schon sehr lange bei Schrauben Wegertseder ein. Die Lieferung war immer sehr schnell und die Ware war wie beschrieben in hervorragender Qualität."
- Hartmund Lawrenz

"ch bestelle hier schon seit Jahren und wurde noch nie enttäuscht. Die Qualität der Produkte ist durchweg hervorragend, der Versand zuverlässig und der Kundenservice freundlich und kompetent. Ein Shop, dem ich voll und ganz vertraue!"
-

"Sehr freundlicher Kontakt mit Frau Stockbauer. Danke für die Hilfe."
-

"war alles gut. Schwierigkeiten habe ich immer mal wieder (nicht nur bei euch) dadurch, dass die Nummern unterschiedlich heißen: - Bestellnummer, Artikelnummer - Auftragsnummer, Bestellnummer, Verwendungszweck"
- Matthias Schwarz

"macht so weiter"
-

Unsere Cookie-Richtlinien

Wir nutzen Cookies, um unsere Seite für Sie bestmöglich zu gestalten und dauerhaft zu verbessern. Weitere Informationen erhalten Sie in unserer Datenschutzerklärung. Ohne Ihre Zustimmung werden nur technisch notwendige Cookies verwendet.
AKZEPTIEREN
ABLEHNEN