Dokument drucken
   |   
   |   



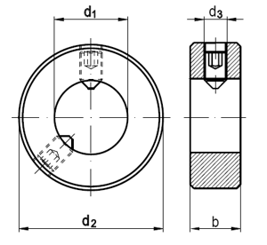
DIN 703
Stellringe schwere Reihe, mit Gewindestift DIN 914
(entspricht keiner anderen Norm)
Kein Bild vorhanden
Maße 20 25 30 35 40 45 50 60 70 80 90 100
d2 40 56 63 70 80 80 90 100 110 125 125 140
d3 M10 M10 M10 M10 M12 M12 M12 M12 M16 M16 M16 M16
b 20 22 22 22 28 28 28 28 32 32 32 32
Gewindestift M10x15 M10x15 M10x15 M10x15 M12x20 M12x20 M12x20 M12x20 M16x20 M16x20 M16x20 M16x25
DIN 703 Stellringe schwere Reihe, mit Gewindestift DIN 914



Alle Angaben ohne Gewähr, Irrtümer und Druckfehler vorbehalten. Technische Maße können teilweise umfangreicher als unser Lieferprogramm sein. © Wegertseder GmbH 1984 - 2025. Die kommerzielle Benutzung von Text und Bild ist nur mit vorheriger schriftlicher Zustimmung erlaubt. Bilder und PDF-Dateien enthalten digitale Signaturen, die auch teilweise oder veränderte Entnahme nachvollziehbar machen.




Version 3.24.2 - Servername: WEBAPP11


 
 Warenkorb
Zur Kasse | Drucken
 
Ihr Warenkorb ist leer

DIN 912 Zylinderschrauben, mit Innensechskant

DIN 912 Zylinderschrauben, mit Innensechskant
 
Artikel-Nr. 2534-318
Werkstoff ROSTFREI A2
Norm DIN 912
Abmessung M 4 x 12

Art. Senkkopf -Spanplattenschrauben Fräsrippen, Schneidkerbe, Innensechsrund (TX)

Art. Senkkopf -Spanplattenschrauben Fräsrippen, Schneidkerbe, Innensechsrund (TX)
 
Artikel-Nr. 4291-129
Werkstoff ROSTFREI A2
Norm Art. 81928
Abmessung 10 x 180 TX

DIN 976 Gewindestangen, Länge 1000 mm

DIN 976 Gewindestangen, Länge 1000 mm
 
Artikel-Nr. 2192-666
Werkstoff STAHL 4.6-5.8 - gelb verzinkt
Norm DIN 976
Abmessung M 8
Unsere App - jetzt online!
Die Wegertseder-App: Immer und überall bequem bestellen
Zertifizierung

Kundenbewertungen (2.174)
So entstehen unsere Kundenbewertungen

Unsere Kundenbewertungen einschließlich der Sternebewertungen können nur nach Bestellabschluss erstellt werden.

Dadurch ist sichergestellt, dass unser Bestellprozess, unser Service sowie unsere Produkte von echten Kunden bewertet werden, die ihre Erfahrungen mit ihnen teilen möchten.


"Ich bin immer wieder bestens bedient! Danke"
- Erik Fischer

"Passt alles, was angeboten wird wird auch geliefert und das sehr schnell. Sehr gute Qualität"
- Klaus Lauber

"Seit 35 Jahren zufriedener Kunde"
- Jürgen Haus

"Ich kaufe seit einigen Jahren nur noch über Ihren Shop die benötigten Schrauben und Normteile, da eigentlich jede Größe zu finden ist und die Lieferung sehr zügig geht."
-

"Leider sind nicht alle Dinge im Onlineshop bestellbar"
- Stefan Wilhelm

Unsere Cookie-Richtlinien

Wir nutzen Cookies, um unsere Seite für Sie bestmöglich zu gestalten und dauerhaft zu verbessern. Weitere Informationen erhalten Sie in unserer Datenschutzerklärung. Ohne Ihre Zustimmung werden nur technisch notwendige Cookies verwendet.
AKZEPTIEREN
ABLEHNEN