Dokument drucken
   |   
   |   



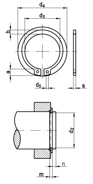
DIN 471
Sicherungsringe für Wellen, Regelausführung
(entspricht keiner anderen Norm)
Kein Bild vorhanden
Maße3456789101112131415
s0,40,40,60,70,80,81111111
d32,73,74,785,66,57,48,49,310,21111,912,913,8
a1,92,22,52,73,13,23,33,33,33,33,43,53,6
b0,80,91,11,31,41,51,71,81,81,822,12,2
d51111,21,21,21,21,51,51,71,71,71,7
d22,83,84,85,76,77,68,69,610,511,512,413,414,3
m0,50,50,70,80,90,91,11,11,11,11,11,11,1
n0,30,30,30,50,50,60,60,60,80,80,90,91,1
d478,610,311,713,514,71617181920,221,422,6
Maße16171819202122232425262728
s111,21,21,21,21,21,21,21,21,21,21,5
d314,715,716,517,518,519,520,521,522,223,224,224,925,9
a3,73,83,93,944,14,24,34,44,44,54,64,7
b2,22,32,42,52,62,72,82,9333,13,13,2
d51,71,722222222222
d215,216,217181920212222,923,924,925,626,6
m1,11,11,31,31,31,31,31,31,31,31,31,31,6
n1,21,21,51,51,51,51,51,51,71,71,72,12,1
d423,82526,227,228,429,630,833,234,235,537,9
Maße29303132333435363738394041
s1,51,51,51,51,51,51,51,751,751,751,751,751,75
d326,927,928,629,630,531,532,233,234,235,23636,537,5
a4,855,15,25,25,45,65,65,75,85,966,2
b3,43,53,53,63,73,83,944,14,24,34,44,5
d5222,52,52,52,52,52,52,52,52,52,52,5
d227,628,629,330,331,332,3333435363737,538,5
m1,61,61,61,61,61,61,61,851,851,851,851,851,85
n2,12,12,62,62,62,6333333,83,8
d439,140,54345,446,847,850,252,6
Maße42444546474850525455565758
s1,751,751,751,751,751,752222222
d338,540,541,542,543,544,545,847,849,850,851,852,853,8
a6,56,66,76,746,86,96,977,17,27,37,37,3
b4,54,64,74,84,955,15,25,35,45,55,55,6
d52,52,52,52,52,52,52,52,52,52,52,52,52,5
d239,541,542,543,544,545,547495152535455
m1,851,851,851,851,851,852,152,152,152,152,152,152,15
n3,83,83,83,83,83,84,54,54,54,54,54,54,5
d455,759,162,564,566,770,271,673,6
Maße60626365676870727577788082
s2222,52,52,52,52,52,52,52,52,52,5
d355,857,858,860,862,563,565,567,570,572,573,574,576,5
a7,47,57,67,87,988,18,28,48,58,68,68,7
b5,866,26,36,46,56,66,877,27,37,47,6
d52,52,52,53333333333
d2575960626465676972747576,578,5
m2,152,152,152,652,652,652,652,652,652,652,652,652,65
n4,54,54,54,54,54,54,54,54,54,54,55,35,3
d475,677,87981,484,88789,292,796,198,1100,3
Maße8587889092959798100102105107 
s333333333444 
d379,581,582,584,586,589,591,591,594,59598100 
a8,78,88,88,899,49,49,49,69,79,910 
b7,87,988,28,48,68,88,899,29,39,5 
d53,53,53,53,53,53,53,53,53,53,53,53,5 
d281,583,584,586,588,591,593,594,596,598101103 
m3,153,153,153,153,153,153,153,153,154,154,154,15 
n5,35,35,35,35,35,35,35,35,3666 
d4103,3106,5108,5120,2125,8 



Alle Angaben ohne Gewähr, Irrtümer und Druckfehler vorbehalten. Technische Maße können teilweise umfangreicher als unser Lieferprogramm sein. © Wegertseder GmbH 1984 - 2025. Die kommerzielle Benutzung von Text und Bild ist nur mit vorheriger schriftlicher Zustimmung erlaubt. Bilder und PDF-Dateien enthalten digitale Signaturen, die auch teilweise oder veränderte Entnahme nachvollziehbar machen.




Version 3.24.2 - Servername: WEBAPP11


 
 Warenkorb
Zur Kasse | Drucken
 
Ihr Warenkorb ist leer

DIN 933 Sechskantschrauben, Gewinde bis Kopf

DIN 933 Sechskantschrauben, Gewinde bis Kopf
 
Artikel-Nr. 2748-097
Werkstoff STAHL 8.8 - verzinkt
Norm DIN 933
Abmessung M 8 x 25

Art. Senkkopf -Spanplattenschrauben Fräsrippen, Schneidkerbe, Innensechsrund (TX)

Art. Senkkopf -Spanplattenschrauben Fräsrippen, Schneidkerbe, Innensechsrund (TX)
 
Artikel-Nr. 4291-050
Werkstoff ROSTFREI A2
Norm Art. 81928
Abmessung 6 x 55 TX

DIN 471 Sicherungsringe für Wellen, Regelausführung

DIN 471 Sicherungsringe für Wellen, Regelausführung
 
Werkstoff alle
Norm DIN 471
Abmessung 250
Unsere App - jetzt online!
NEU im Sortiment: Wir haben unser Dübelsortiment erweitert
Zertifizierung

Kundenbewertungen (2.175)
So entstehen unsere Kundenbewertungen

Unsere Kundenbewertungen einschließlich der Sternebewertungen können nur nach Bestellabschluss erstellt werden.

Dadurch ist sichergestellt, dass unser Bestellprozess, unser Service sowie unsere Produkte von echten Kunden bewertet werden, die ihre Erfahrungen mit ihnen teilen möchten.


"ch bestelle hier schon seit Jahren und wurde noch nie enttäuscht. Die Qualität der Produkte ist durchweg hervorragend, der Versand zuverlässig und der Kundenservice freundlich und kompetent. Ein Shop, dem ich voll und ganz vertraue!"
-

"Ihr seid die Besten! So solle es sein, Germany statt China! DANKE!"
- Konrad Wagner

"immer sehr gute Erklärung/Info, denn ich habe keinerlei technische Ausbildung, nur Hobby/Landwirtschaft"
- Friedrich Rauchenwald

"Kaufe seit 6 Jahren bei Wegertsender, bin immer zufrieden. Top"
-

"Insgesamt sehr zufrieden. Hutmuttern M6 hohe Form aus Aluminium vermisse ich noch. Schönen Tag noch."
-

Unsere Cookie-Richtlinien

Wir nutzen Cookies, um unsere Seite für Sie bestmöglich zu gestalten und dauerhaft zu verbessern. Weitere Informationen erhalten Sie in unserer Datenschutzerklärung. Ohne Ihre Zustimmung werden nur technisch notwendige Cookies verwendet.
AKZEPTIEREN
ABLEHNEN