ISO 8750 Spiral-Spannstifte (Spannhülsen), leichte Ausführung
ähnlich DIN 7343 Spiral-Spannstifte (Spannhülsen) leichte Ausführung: keine gravierenden Änderungen

ISO 8750 Spiral-Spannstifte (Spannhülsen) leichte Ausführung sind gebogene, mehrfach gewickelte, Metallplättchen, welche durch ein passgenaues Bohrloch in ein Werkstück eingetrieben werden, um es zu sichern. Achten Sie darauf, dass die Spannhülse kein Spiel hat und genau passt, z. B. wird eine Spannhülse mit einem Hammer eingetrieben. Die schwere Ausführung hat eine dickere Wandstärke und kann mehr Kraft aufnehmen. mehr ...


Technische Maße für ISO 8750 Spiral-Spannstifte (Spannhülsen), leichte Ausführung

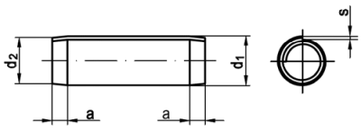
Legende:
Maße
= Durchmesser (Nennmaß)
a
= Länge-Fase
d1
= Durchmesser-Innen
d2
= Durchmesser-Außen
s
= Stärke / Höhe

Maße 1 1,5 2 2,5 3 3,5 4 5 6 8 10 12 14 16
a 0,3 0,5 0,7 0,8 1 1,2 1,3 1,7 2 3 3 4 4,5 5
s 0,08 0,13 0,17 0,21 0,25 0,29 0,33 0,42 0,5 0,67 0,84 1 1,2 1,3
d1 1,1 1,62 2,15 2,65 3,15 3,67 4,2 5,25 6,25 8,35 10,45 12,5 14,55 16,55
d2 0,95 1,4 1,9 2,35 2,85 3,35 3,8 4,8 5,8 7,75 9,6 11,5 13,5 15,4
Abscherkraft (kN), nur für Federstahl 0,6 1,45 2,5 3,9 5,5 7,5 9,6 15 22 39 62 89 120 155

weitere Informationen

 

Unterscheidung von Spannstiften (Spannhülsen)

Grundsätzlich unterscheidet man Spannstifte der leichten Form mit geringer und Spannstifte der schweren Form mit erhöhter Wandstärke für Anwendungen mit höheren Kräften.

A) Spannstifte leichte Form

b) Spannstifte schwere Form

 

Einsatzbereich von Spannhülsen ISO 8750

Verwendet werden Spannhülsen ISO 8750 meist im Maschinen- und Anlagenbau, im Kfz-Bereich, bei Oldtimern oder auch zur Verbindung von Metallen im Holzbau. Sie haben durch die mehrfache Wickelung eine größere Beständigkeit gegenüber auftretenden Kräften.

Alle Angaben ohne Gewähr, Gewährleistung oder Haftung.


Version 3.24.2 - Servername: WEBAPP12


 
 Warenkorb
Zur Kasse | Drucken
 
Ihr Warenkorb ist leer

DIN 125 Unterlegscheiben Form A

DIN 125 Unterlegscheiben Form A
 
Artikel-Nr. 1498-308
Werkstoff ROSTFREI A2
Norm DIN 125A
Abmessung A 10,5 f. M 10

Art. LISEKO-Spenglerschrauben mit EPDM, Dichtscheibe 25 mm, A2 blank, Innensechsrund (TX)

Art. LISEKO-Spenglerschrauben mit EPDM, Dichtscheibe 25 mm, A2 blank, Innensechsrund (TX)
 
Artikel-Nr. 4266-002
Werkstoff ROSTFREI A2
Norm Art. 81882
Abmessung 4,5 x 40 TX

DIN 427 Schaftschrauben mit Kegelkuppe, mit Schlitz

DIN 427 Schaftschrauben mit Kegelkuppe, mit Schlitz
 
Artikelgruppe 2108
Werkstoff STAHL 14 H
Norm DIN 427
Abmessung M6
Unsere App - jetzt online!
NEU im Sortiment: Zusätzlich über 15.000 neue Kleinmengen
Zertifizierung

Kundenbewertungen (2.173)
So entstehen unsere Kundenbewertungen

Unsere Kundenbewertungen einschließlich der Sternebewertungen können nur nach Bestellabschluss erstellt werden.

Dadurch ist sichergestellt, dass unser Bestellprozess, unser Service sowie unsere Produkte von echten Kunden bewertet werden, die ihre Erfahrungen mit ihnen teilen möchten.


"Ich kaufe nun schon sehr lange bei Schrauben Wegertseder ein. Die Lieferung war immer sehr schnell und die Ware war wie beschrieben in hervorragender Qualität."
- Hartmund Lawrenz

"ch bestelle hier schon seit Jahren und wurde noch nie enttäuscht. Die Qualität der Produkte ist durchweg hervorragend, der Versand zuverlässig und der Kundenservice freundlich und kompetent. Ein Shop, dem ich voll und ganz vertraue!"
-

"Ich habe bis heute noch nichts zu Beanstanden."
- Richard Fiedler jun.

"Bin absolut zufrieden, Danke, dass Sie auch relative Kleinaufträge für Privatkäufer ermöglichen.BesteGrüße,SOH"
- Sven-Oliver Henkel

"Ich kaufe seit einigen Jahren nur noch über Ihren Shop die benötigten Schrauben und Normteile, da eigentlich jede Größe zu finden ist und die Lieferung sehr zügig geht."
-

Unsere Cookie-Richtlinien

Wir nutzen Cookies, um unsere Seite für Sie bestmöglich zu gestalten und dauerhaft zu verbessern. Weitere Informationen erhalten Sie in unserer Datenschutzerklärung. Ohne Ihre Zustimmung werden nur technisch notwendige Cookies verwendet.
AKZEPTIEREN
ABLEHNEN