DIN 986 Sechskant-Hutmutter, Polyamidklemmteil

DIN 986 Sechskant-Hutmuttern, Polyamidklemmteil sind Sechskantmuttern mit einem auffallenden, großen, oben abgerundeten Abschluss und einer Sicherungseigenschaft über ein Polyamidklemmteil. Umgangssprachlich werden sie auch Sicherungs-Mützenmutter, Sicherungs-Haubenmutter oder Sicherungs-Melonenmutter genannt. Dabei handelt es sich um Muttern, die auf einer Seite fest verschlossen sind. Das Polyamidklemmteil verzahnt sich mit dem Schraubengewinde und sichert es so. Achtung! Polyamidklemmteile sind nicht beständig gegen hohe Temperaturen; in diesem Fall sollten Sie Muttern mit Vollmetallsicherung verwenden. mehr ...


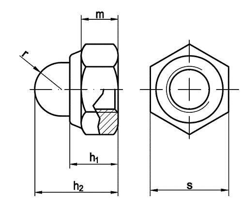
Technische Maße für DIN 986 Sechskant-Hutmutter, Polyamidklemmteil

Legende:
Maße (d)
= Durchmesser für metrisches Maß (M) (Nennmaß)
h2
= Höhe-Gesamt
m
= Höhe-Antrieb
s
= Schlüsselweite
e min.
= Eckenmaß
r
= Radius-Hut
h1
= Höhe-Mutter

Maße (d) M 4 M 5 M 6 M 8 M 10 M 12 M 16
s 7 8 10 13 17 19 24
e min. 7,74 8,87 11,05 14,38 18,9 21,1 26,75
m 3,2 4 5 6,4 7,8 9,6 12,5
h1 5,6 6 7,5 8,9 10,5 13,5 16,5
h2 9,6 10,5 12 14 18,1 22,5 27,5
r 2,5 3 3,5 4,6 5,8 6,8 8,8

weitere Informationen

 

Wann verwendet man Sicherungs-Hutmuttern?

Sicherung-Hutmuttern verwendet man immer dann, wenn der Schraubenkopf vor Witterung geschützt werden soll (z. B. im Holzbau), wenn man Menschen vor den scharfen Kanten eines Schraubenkopfes schützen will (z. B. bei Fitness-Geräten, Kinderspielzeug) oder aus optischen Gründen und, wenn eine Sicherungseigenschaft benötigt wird. Hutmuttern haben meist einen Außensechskant und können daher fest nur mit Werkzeug, z. B. einem Schraubenschlüssel oder einer Stecknuss angezogen werden. Achtung: drehen Sie eine Hutmutter nie zu fest an. Da der Kopf meist nicht aus dem Vollmetall gedreht sondern nur angepresst ist, kann es sein, dass bei zu großer Krafteinwirkung der Kopf abgesprengt wird.

 

DIN 986 Sechskant-Hutmuttern, Polyamidklemmteil liefern wir in Stahl 6 verzinkt und Edelstahl Rostfrei A1.

Alle Angaben ohne Gewähr, Gewährleistung oder Haftung.


Version 3.24.2 - Servername: WEBAPP11


 
 Warenkorb
Zur Kasse | Drucken
 
Ihr Warenkorb ist leer

DIN 125 Unterlegscheiben Form A Stahl Klasse 140 HV

DIN 125 Unterlegscheiben Form A Stahl Klasse 140 HV
 
Artikel-Nr. 1490-224
Werkstoff STAHL - verzinkt
Norm DIN 125A
Abmessung A 17 f. M 16

Art. Senkkopf -Spanplattenschrauben Fräsrippen, Schneidkerbe, Innensechsrund (TX)

Art. Senkkopf -Spanplattenschrauben Fräsrippen, Schneidkerbe, Innensechsrund (TX)
 
Artikel-Nr. 4287-096
Werkstoff ROSTFREI A4
Norm Art. 81928
Abmessung 10 x 360 TX

ISO 2338 Zylinderstifte, Passung m6

ISO 2338 Zylinderstifte, Passung m6
 
Artikelgruppe 4564
Werkstoff ROSTFREI A1
Norm ISO 2338
Abmessung 4
Unsere App - jetzt online!
NEU im Sortiment: Entdecken Sie die SPAX-Vielfalt bei Wegertseder
Zertifizierung

Kundenbewertungen (2.159)
So entstehen unsere Kundenbewertungen

Unsere Kundenbewertungen einschließlich der Sternebewertungen können nur nach Bestellabschluss erstellt werden.

Dadurch ist sichergestellt, dass unser Bestellprozess, unser Service sowie unsere Produkte von echten Kunden bewertet werden, die ihre Erfahrungen mit ihnen teilen möchten.


"ich sags immer wieder NICHTS ändern! Ihr seid TOP!! Euer Versand ist der absolute OBERHAMMER * * * * *"
- Uwe Krippner

"Besten Dank"
- Jürgen Lingen

"Hallo, für unseren kleinen Betrieb ist soweit alles in Ordnung. Wir sind sicher kein großer, aber ein langjähriger Kunde. Bitte weiter so. Thomas H. "
-

"Bitte Bitte Bitte so lassen!! Nix ändern!!"
- Uwe Krippner

"Klasse WebShop! Kurz war ich verunsichert, wie ich die Menge anzugeben habe: Nach Paket oder tatsächliche Stückzahl. Aber da kommt man schnell dahinter. Wie gesagt - KLASSE!"
- Eberhard Stollsteimer

Unsere Cookie-Richtlinien

Wir nutzen Cookies, um unsere Seite für Sie bestmöglich zu gestalten und dauerhaft zu verbessern. Weitere Informationen erhalten Sie in unserer Datenschutzerklärung. Ohne Ihre Zustimmung werden nur technisch notwendige Cookies verwendet.
AKZEPTIEREN
ABLEHNEN