DIN 929 Sechskant-Schweißmuttern

dienen zur Herstellung von Schweißverbindungen. Sechskant-Schweißmuttern haben auf der Unterseite Einkerbungen, die es möglich machen, dass unter die Mutter Material eintritt und die Mutter dadurch fest mit dem Untergrund verbunden wird. mehr ...


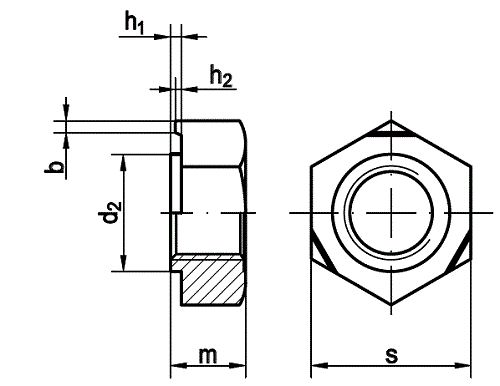
Technische Maße für DIN 929 Sechskant-Schweißmuttern

Legende:
d
= Durchmesser für metrisches Maß (M) (Nennmaß)
m
= Höhe-Gesamt
s
= Schlüsselweite
e
= Eckenmaß
h2
= Höhe-Schweißbuckel
h1
= Höhe-Flansch
d2
= Durchmesser-Flansch

d M 3 M 4 M 5 M 6 M 8 M 10 M 12 M 14 M 16
m 3 3,5 4 5 6,5 8 10 11 13
s 7,5 9 10 11 14 17 19 22 24
e 8,6 10,4 11,5 12,7 16,2 19,6 21,9 25,4 27,7
d2 4,5 6 7 8 10,5 12,5 14,8 16,8 18,8
h1 0,55 0,65 0,7 0,75 0,9 1,15 1,4 1,8 1,8
h2 0,25 0,35 0,4 0,4 0,5 0,65 0,8 1,0 1,0

weitere Informationen

 

Verwendungszweck und Verarbeitung von DIN 929 Sechskant-Schweißmuttern

Sechskant-Schweißmuttern werden meist im Karosseriebau, Kfz-Bereich für Autos, LKW, Traktoren oder Landmaschinen sowie im Maschinen- und Anlagenbau für Gehäuse eingesetzt. Schweißmuttern werden dabei fest mit dem Bauteil verschweißt. Zunächst wird die Sechskant-Schweißmutter über das Bohrloch gelegt und fest mit dem Trägermaterial verschweißt. Erst danach wird die Schraube oder Gewindestange in die Mutter eingedreht. Durch das Verschweißen hält die Mutter selbst bei geringer Wandstärke des darunterliegenden Trägermaterials.

 

Werkstoff von DIN 929 Sechskant-Schweißmuttern

Da alle Oberflächenbehandlungen beim Schweißen hinderlich wären, bieten wir Sechskant-Schweißmuttern nur in Stahl blank oder Edelstahl Rostfrei A2 oder A4 an.

Alle Angaben ohne Gewähr, Gewährleistung oder Haftung.


Version 3.24.2 - Servername: WEBAPP11


 
 Warenkorb
Zur Kasse | Drucken
 
Ihr Warenkorb ist leer

DIN 985 Sechskantmuttern, Polyamidklemmteil, niedrige Form (=Standard)

DIN 985 Sechskantmuttern, Polyamidklemmteil, niedrige Form (=Standard)
 
Artikel-Nr. 3346-232
Werkstoff ROSTFREI A2
Norm DIN 985
Abmessung M 3

Art. Senkkopf -Spanplattenschrauben Fräsrippen, Schneidkerbe, Innensechsrund (TX)

Art. Senkkopf -Spanplattenschrauben Fräsrippen, Schneidkerbe, Innensechsrund (TX)
 
Artikel-Nr. 4287-095
Werkstoff ROSTFREI A4
Norm Art. 81928
Abmessung 10 x 350 TX

Fenster-Rahmenschraube mit Zylinderkopf und Innensechsrund (TX), verzinkt

Fenster-Rahmenschraube mit Zylinderkopf und Innensechsrund (TX), verzinkt
 
Artikelgruppe 6330
Werkstoff STAHL - verzinkt
Norm Art. 81424
Unsere App - jetzt online!
NEU im Sortiment: Zusätzlich über 15.000 neue Kleinmengen
Zertifizierung

Kundenbewertungen (2.159)
So entstehen unsere Kundenbewertungen

Unsere Kundenbewertungen einschließlich der Sternebewertungen können nur nach Bestellabschluss erstellt werden.

Dadurch ist sichergestellt, dass unser Bestellprozess, unser Service sowie unsere Produkte von echten Kunden bewertet werden, die ihre Erfahrungen mit ihnen teilen möchten.


"ich sags immer wieder NICHTS ändern! Ihr seid TOP!! Euer Versand ist der absolute OBERHAMMER * * * * *"
- Uwe Krippner

"ja, alle beim THW finden den Shop toll ;-)"
-

"Sehr freundliche und kompetente Unterstützung"
-

"Wegertseder = Klasse Sortiment, übersichtlich, preiswert."
-

"Alles toll, da ich das erste Mal bei Euch bestelle, kann ich zu der Lieferzeit und Verpackung nichts sagen. Ein entspanntes Wochenende und ich hoffe, das GLS morgen anliefert... ;-)"
- Michael Diekmann

Unsere Cookie-Richtlinien

Wir nutzen Cookies, um unsere Seite für Sie bestmöglich zu gestalten und dauerhaft zu verbessern. Weitere Informationen erhalten Sie in unserer Datenschutzerklärung. Ohne Ihre Zustimmung werden nur technisch notwendige Cookies verwendet.
AKZEPTIEREN
ABLEHNEN