DIN 84 Zylinderschrauben mit Schlitz
ähnlich ISO 1207 Zylinderschrauben mit Schlitz: keine gravierenden Änderungen

haben ein metrisches Regelgewinde (M), deshalb der Name Gewindeschrauben, und einen Zylinderkopf. Der Zylinderkopf ist oben nicht abgeflacht sondern durchgehend wie ein Zylinder geformt, was ihn vom Flachkopf unterscheidet. Diese Form der Gewindeschrauben ist schon sehr alt, was man an der zweistelligen DIN-Norm (DIN 84) erkennt. Heutzutage werden Schlitzschrauben nur noch selten, meist in historischen Anwendungen oder wenn die Schlitzform explizit gewünscht ist, verwendet. Neuere Antriebe wie Kreuzschlitze oder Innensechsrund (TX)® werden von den meisten Kunden in der Verarbeitung als angenehmer empfunden - so kann man dort z. B. nicht so leicht abrutschen wie am Schlitz. mehr ...


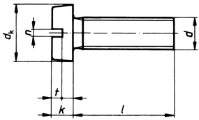
Technische Maße für DIN 84 Zylinderschrauben mit Schlitz

Legende:
Maße (d)
= Durchmesser metrisches Gewinde (M) (Nennmaß)
dk
= Durchmesser-Kopf
k
= Höhe-Kopf
t
= Tiefe-Antrieb min.
t max.
= Tiefe-Antrieb max.
n
= Antrieb-Schlitz-Breite

Maße (d) M1 M1,2 M1,4 M1,6 M1,7 M2 M2,3 M2,5 M2,6 M3 M3,5 M4 M5 M6 M8 M10 M12
k 0,7 0,8 0,9 1 1,1 1,3 1,5 1,6 1,7 2 2,4 2,6 3,3 3,9 5 6 6
dk 2 2,3 2,6 3 3,2 3,8 4,4 4,5 5 5,5 6 7 8,5 10 13 16 22
t 0,25 0,3 0,4 0,45 0,55 0,6 0,7 0,7 0,8 0,9 1 1,2 1,5 1,8 2,1 2,4 2,4
t max. 0,3 0,5 0,6 0,7 0,9 0,8 0,9 0,9 1 1,15 1,2 1,5 1,8 2,2 2,6 3 3
n 0,25 0,3 0,3 0,4 0,4 0,5 0,6 0,6 0,6 0,8 1 1 1,2 1,6 2 2,5 3

weitere Informationen

 

Lieferbare Werkstoffe für DIN 84 Zylinderschrauben mit Schlitz

Dieses Produkt liefern wir in vielen Werkstoffen. Darunter Messing, Kunststoff Polyamid natur, Stahl 4.8 blank - gelb verzinkt - vernickelt aber auch hochfestem Stahl 5.8 oder 8.8 verzinkt. Ebenfalls liefern wir DIN 84 Zylinderschrauben mit Schlitz in Edelstahl. Edelstahl Rostfrei A2 eignet sich für Anwendungen im Außenbereich aber ohne dauerhaften Kontakt mit Wasser. Edelstahl Rostfrei A4 verträgt Dauerkontakt mit Wasser, Salzwasser oder bestimmten Säuren.

Alle Angaben ohne Gewähr, Gewährleistung oder Haftung.


Version 3.24.2 - Servername: WEBAPP12


 
 Warenkorb
Zur Kasse | Drucken
 
Ihr Warenkorb ist leer

DIN 125 Unterlegscheiben Form A

DIN 125 Unterlegscheiben Form A
 
Artikel-Nr. 1498-300
Werkstoff ROSTFREI A2
Norm DIN 125A
Abmessung A 5,3 f. M 5

Art. Fassadenbauschrauben mit Blechgewinde, mit EPDM-Dichtscheibe 22 mm, montiert

Art. Fassadenbauschrauben mit Blechgewinde, mit EPDM-Dichtscheibe 22 mm, montiert
 
Artikel-Nr. 4272-008
Werkstoff ROSTFREI A2
Norm Art. 81839
Abmessung 8 x 150

DIN 976 Gewindestangen, Länge 1000 mm

DIN 976 Gewindestangen, Länge 1000 mm
 
Artikel-Nr. 2190-616
Werkstoff STAHL - verzinkt
Norm DIN 976
Abmessung M 2
Unsere App - jetzt online!
NEU im Sortiment: Zusätzlich über 15.000 neue Kleinmengen
Zertifizierung

Kundenbewertungen (2.173)
So entstehen unsere Kundenbewertungen

Unsere Kundenbewertungen einschließlich der Sternebewertungen können nur nach Bestellabschluss erstellt werden.

Dadurch ist sichergestellt, dass unser Bestellprozess, unser Service sowie unsere Produkte von echten Kunden bewertet werden, die ihre Erfahrungen mit ihnen teilen möchten.


"TOP weiter so * * * * *"
- Uwe Krippner

"Seit 35 Jahren zufriedener Kunde"
- Jürgen Haus

"Hallo, für unseren kleinen Betrieb ist soweit alles in Ordnung. Wir sind sicher kein großer, aber ein langjähriger Kunde. Bitte weiter so. Thomas H. "
-

"Alles tiptop. Ich bestelle sehr gerne bei Ihnen. :-)"
-

"Klasse WebShop! Kurz war ich verunsichert, wie ich die Menge anzugeben habe: Nach Paket oder tatsächliche Stückzahl. Aber da kommt man schnell dahinter. Wie gesagt - KLASSE!"
- Eberhard Stollsteimer

Unsere Cookie-Richtlinien

Wir nutzen Cookies, um unsere Seite für Sie bestmöglich zu gestalten und dauerhaft zu verbessern. Weitere Informationen erhalten Sie in unserer Datenschutzerklärung. Ohne Ihre Zustimmung werden nur technisch notwendige Cookies verwendet.
AKZEPTIEREN
ABLEHNEN