DIN 7967 Sicherungsmuttern (Palmuttern)

DIN 7967 Sicherungsmuttern (Palmuttern) gehören zu den Sicherungsmuttern mit Vollmetallsicherung. Es handelt sich um eher flache Sechskantmuttern, die einen zur Innenseite hin umgebogenen Kranz aus sechs Metallplättchen haben. Diese Metallplättchen verzahnen sich mit dem Außengewinde der Schraube, über welche sie gedreht werden. Die Palmutter, wie DIN 7967 Sicherungsmuttern auch genannt werden, werden beim Ausdrehen unwiederbringlich zerstört und dürfen nach der Demontage nicht erneut verwendet werden. Ein großer Vorteil der Palmutter ist, dass eine Manipulation an der Mutter sofort erkannt werden kann. mehr ...


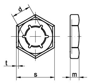
Technische Maße für DIN 7967 Sicherungsmuttern (Palmuttern)

Legende:
Maße
= Durchmesser für metrisches Maß (M) (Nennmaß)
m
= Höhe-Gesamt
s
= Schlüsselweite
d
= Durchmesser-Innen
t
= Stärke (Blech)

Maße M 6 M 8 M 10 M 12 M 14 M 16 M 20 M 22 M 24 M 27 M 30 M 33 M 36 M 42 M 48
d 5,3 6,9 8,6 10,4 12 14,1 17,6 19,6 21 24,2 26,6 29,8 32,2 37,6 43,9
m 3 3,5 4 4,5 5 5 6 6 7 7 8 8 9 11 14
s 10 13 17 19 22 24 30 32 36 41 46 50 55 65 75
t 0,4 0,5 0,5 0,6 0,6 0,7 0,8 0,8 0,9 1 1,1 1,2 1,3 1,4 1,6

weitere Informationen

 

Einsatzbereich von DIN 7967 Sicherungsmuttern (Palmuttern)

Diese Muttern überall dort eingesetzt, wo meist Schrauben mit größeren Außendurchmessern gegen Demontage oder unabsichtliches Lösen, z. B. wegen Vibration, gesichert werden müssen. Häufig findet man sie im Maschinen- und Anlagenbau, im Stahlbau aber auch z. B. bei Seilbahnen findet man Palmuttern.

 

Lieferbare Werkstoffe für Sicherungsmuttern DIN 7967

Diese Muttern liefern wir in Federstahl blank, verzinkt oder feuerverzinkt und in Rostfreiem Edelstahl A2 wenn Kontakt mit Luft oder kurzer Kontakt mit Wasser besteht. Alternativ gibt es Palmuttern auch in Rostfrei A4, der hochsäurebeständig ist und sich auch für Umgebungen mit Salzwasser oder Dauerkontakt mit Wasser eignet.

Alle Angaben ohne Gewähr, Gewährleistung oder Haftung.


Version 3.24.2 - Servername: WEBAPP11


 
 Warenkorb
Zur Kasse | Drucken
 
Ihr Warenkorb ist leer

DIN 985 Sechskantmuttern, Polyamidklemmteil, niedrige Form (=Standard)

DIN 985 Sechskantmuttern, Polyamidklemmteil, niedrige Form (=Standard)
 
Artikel-Nr. 3340-150
Werkstoff STAHL 6/8 - verzinkt
Norm DIN 985
Abmessung M 8

DIN 7504 Bohrschrauben N mit Linsenkopf, Blechschraubengewinde PH-Kreuzschlitz für Weichmetalle (Spitze aus Edelstahl)

DIN 7504 Bohrschrauben N mit Linsenkopf, Blechschraubengewinde PH-Kreuzschlitz für Weichmetalle (Spitze aus Edelstahl)
 
Artikel-Nr. 4261-008
Werkstoff ROSTFREI A2
Norm DIN 7504N
Abmessung N 4,2 x 50 H

DIN 653 Rändelschrauben niedrige Form

DIN 653 Rändelschrauben niedrige Form
 
Artikelgruppe 2072
Werkstoff ROSTFREI A1
Norm DIN 653
Abmessung M3
Unsere App - jetzt online!
NEU im Sortiment: Zusätzlich über 15.000 neue Kleinmengen
Zertifizierung

Kundenbewertungen (2.161)
So entstehen unsere Kundenbewertungen

Unsere Kundenbewertungen einschließlich der Sternebewertungen können nur nach Bestellabschluss erstellt werden.

Dadurch ist sichergestellt, dass unser Bestellprozess, unser Service sowie unsere Produkte von echten Kunden bewertet werden, die ihre Erfahrungen mit ihnen teilen möchten.


"es gibt keine z.B. Abstandshülsen Sehr gut sind die DIN/ISO Pdfs der Materialdaten "
- Matthias Zander

"Bin sehr zufrieden. Habe Euch auch schon weiterempfohlen."
-

"Bin zufrieden, hat immer aller geklappt -:) "
-

"Seit 35 Jahren zufriedener Kunde"
- Jürgen Haus

"Bin absolut zufrieden, Danke, dass Sie auch relative Kleinaufträge für Privatkäufer ermöglichen.BesteGrüße,SOH"
- Sven-Oliver Henkel

Unsere Cookie-Richtlinien

Wir nutzen Cookies, um unsere Seite für Sie bestmöglich zu gestalten und dauerhaft zu verbessern. Weitere Informationen erhalten Sie in unserer Datenschutzerklärung. Ohne Ihre Zustimmung werden nur technisch notwendige Cookies verwendet.
AKZEPTIEREN
ABLEHNEN