DIN 7604 Verschlussschrauben Bund mit Außen-SK, A=kurzer Einschraubzapfen, leichte Ausführung, zylindrisches FEIN

DIN 7604 Verschlußschrauben, Bund mit Außensechskant, A= kurzer Einschraubzapfen, leichte Ausführung, zylindrisches FEIN-Gewinde sind eine Sonderform der Schrauben, die auf der einen Seite einen Kopf mit Antrieb und auf der anderen Seite ein Gewinde haben. Eingesetzt werden sie z. B. als Ölablassschrauben bei Motoren, zur Schmierung oder Dichtung von Löchern an Bauteilen. Sie haben ein zylindrisches FEIN-Gewinde und einen besonders kurzen Einschraubzapfen. Die DIN 910 hat einen normalen Einschraubzapfen. mehr ...


Technische Maße für DIN 7604 Verschlussschrauben Bund mit Außen-SK, A=kurzer Einschraubzapfen, leichte Ausführung, zylindrisches FEIN

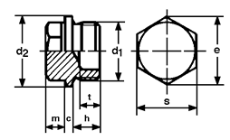
Legende:
Maße (d1)
= Durchmesser metrisches Gewinde (M) (Nennmaß)
m
= Höhe-Kopf
s
= Antrieb-Schlüsselweite
t
= Länge-Gewinde
c
= Höhe-Bund/Flansch/Telleransatz
d2
= Durchmesser-Flansch/Bund
e
= Eckenmaß
h
= Länge-Gewinde mit Auslauf

Maße (d1) M8x1 M10x1 M12x1,5 M14x1,5 M16x1,5 M18x1,5 M22x1,5 M26x1,5 M30x,15
c 0,5 0,5 0,5 0,5 0,5 2 2 2,5 2,5
d2 12 14 17 19 21 23 27 31 36
s 12 14 17 19 22 17 19 22 22
t - - - - - 8 8 8/10 8/10
h kurz (Form A) - 6 9 9 9 9 9 9 9
h lang (Form C) 8 8 - - - - - 12 12
m 4 4 6 6 6 6 6 8 8

weitere Informationen

 

Kopfform und Antrieb

Diese Verschlußschrauben haben einen Außensechskant. Dieser hat einen geringen Platzbedarf und kann auch in engen Bauteilen jederzeit seitlich oder von oben über einen Ring- Gabelschlüssel oder einer Stecknuss angezogen werden. Außerdem ist er klein und wenig hoch. Der Bund vergrößert die Auflagefläche und sorgt für eine bessere Abdeckung des Bohrlochs oder einer höheren Kraftübertragung.

Alle Angaben ohne Gewähr, Gewährleistung oder Haftung.


Version 3.24.2 - Servername: WEBAPP11


 
 Warenkorb
Zur Kasse | Drucken
 
Ihr Warenkorb ist leer

DIN 985 Sechskantmuttern, Polyamidklemmteil, niedrige Form (=Standard)

DIN 985 Sechskantmuttern, Polyamidklemmteil, niedrige Form (=Standard)
 
Artikel-Nr. 3346-234
Werkstoff ROSTFREI A2
Norm DIN 985
Abmessung M 4

ISO 14581 Senkschrauben mit Innensechsrund (TX)

ISO 14581 Senkschrauben mit Innensechsrund (TX)
 
Artikel-Nr. 4669-083
Werkstoff ROSTFREI A4
Norm ISO 14581
Abmessung M 6 x 120 TX

DIN 934 Sechskantmuttern, für Behälterbau nach AD-TRD Regelwerk

DIN 934 Sechskantmuttern, für Behälterbau nach AD-TRD Regelwerk
 
Artikelgruppe 2880
Werkstoff ADW2 / TRD 106 - ROSTFREI A4-70
Norm DIN 934
Unsere App - jetzt online!
NEU im Sortiment: Zusätzlich über 15.000 neue Kleinmengen
Zertifizierung

Kundenbewertungen (2.118)
So entstehen unsere Kundenbewertungen

Unsere Kundenbewertungen einschließlich der Sternebewertungen können nur nach Bestellabschluss erstellt werden.

Dadurch ist sichergestellt, dass unser Bestellprozess, unser Service sowie unsere Produkte von echten Kunden bewertet werden, die ihre Erfahrungen mit ihnen teilen möchten.


"Meine erste Adresse!"
- Heiner Schnorrenberg

"war alles gut. Schwierigkeiten habe ich immer mal wieder (nicht nur bei euch) dadurch, dass die Nummern unterschiedlich heißen: - Bestellnummer, Artikelnummer - Auftragsnummer, Bestellnummer, Verwendungszweck"
- Matthias Schwarz

"...wir kommen wieder :-)"
-

"Vor vielen Jahren habe ich das erste Mal bei Ihnen bestellt und war sehr zufrieden. Jetzt habe ich - endlich - ein Kundenkonto angelegt."
- Jürgen Schmidt

"Ich kaufe seit einigen Jahren nur noch über Ihren Shop die benötigten Schrauben und Normteile, da eigentlich jede Größe zu finden ist und die Lieferung sehr zügig geht."
-

Unsere Cookie-Richtlinien

Wir nutzen Cookies, um unsere Seite für Sie bestmöglich zu gestalten und dauerhaft zu verbessern. Weitere Informationen erhalten Sie in unserer Datenschutzerklärung. Ohne Ihre Zustimmung werden nur technisch notwendige Cookies verwendet.
AKZEPTIEREN
ABLEHNEN