DIN 6799 Sicherungsscheiben für Wellen

DIN 6799 Sicherungsscheiben für Wellen sind meist gestanzte Sicherungsmittel, die auf Wellen aufgesteckt werden. Sie eignen sich für kleinere Durchmesser bis ca. 38 mm. Die DIN 6799 Sicherungsscheiben für Wellen hat im Innendurchmesser (Nenndurchmesser) drei Bereiche, wo sie am Nietgrund aufliegt und die Welle so sichert. Zur Montage werden sie einfach auf die Nut der Welle gesteckt. Eine Zange ist zur Verarbeitung nicht nötig, weshalb sie auch nicht, anders als DIN 471, über zwei Zangenlöcher verfügen. Zum Lösen der Verbindung wird ein Schraubendreher verwendet und die Sicherungsscheibe aus der Nut gehebelt. mehr ...


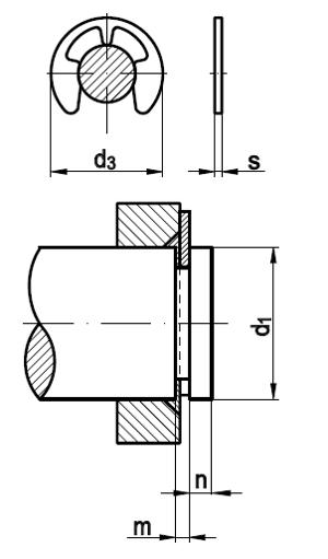
Technische Maße für DIN 6799 Sicherungsscheiben für Wellen

Legende:
Maße
= Durchmesser-Innen (Nennmaß)
s
= Stärke (Blech)
d3
= Durchmesser-Außen
für Wellen (d1)
= Durchmesser-Welle (Nennmaß)
m
= Nutbreite der Welle
n
= Bundbreite der Welle

Maße 0,8 1,2 1,5 1,9 2,3 3,2 4 5 6 7 8 9 10 12 15 19
d3 2,25 3,25 4,25 4,8 6,3 7,3 9,3 11,3 12,3 14,3 16,3 18,3 20,4 23,4 29,4 37,6
s 0,2 0,3 0,4 0,5 0,6 0,6 0,7 0,7 0,7 0,9 1 1,1 1,2 1,3 1,5 1,75
für Wellen (d1) 1 - 1,4 1,4 - 2 2 - 2,5 2,5 - 3 3 - 4 4 - 5 5 - 7 6 - 8 7 - 9 8 - 11 9 - 12 10 - 14 11 - 15 13 - 18 16 - 24 20 - 31
m 0,24 0,34 0,44 0,54 0,64 0,64 0,74 0,74 0,74 0,94 1,05 1,15 1,25 1,35 1,55 1,80
n 0,4 0,6 0,8 1 1 1 1,2 1,2 1,2 1,5 1,8 2 2 2,5 3 3,5

weitere Informationen

 

Lieferbare Werkstoffe für DIN 6799 Sicherungsscheiben für Wellen

Dieses Produkt liefern in blankem, elastischen Federstahl,  in Stahl verzinkt oder in Rostfreiem Edelstahl 1.4301.

Alle Angaben ohne Gewähr, Gewährleistung oder Haftung.


Version 3.24.2 - Servername: WEBAPP11


 
 Warenkorb
Zur Kasse | Drucken
 
Ihr Warenkorb ist leer

DIN 985 Sechskantmuttern, Polyamidklemmteil, niedrige Form (=Standard)

DIN 985 Sechskantmuttern, Polyamidklemmteil, niedrige Form (=Standard)
 
Artikel-Nr. 3346-234
Werkstoff ROSTFREI A2
Norm DIN 985
Abmessung M 4

ISO 14581 Senkschrauben mit Innensechsrund (TX)

ISO 14581 Senkschrauben mit Innensechsrund (TX)
 
Artikel-Nr. 4669-083
Werkstoff ROSTFREI A4
Norm ISO 14581
Abmessung M 6 x 120 TX

Sicherheitsschraubenlöser für Einwegschrauben

Sicherheitsschraubenlöser für Einwegschrauben
 
Artikelgruppe 4276
Werkstoff STAHL
Norm Art. 81658
Unsere App - jetzt online!
NEU im Sortiment: Zusätzlich über 15.000 neue Kleinmengen
Zertifizierung

Kundenbewertungen (2.118)
So entstehen unsere Kundenbewertungen

Unsere Kundenbewertungen einschließlich der Sternebewertungen können nur nach Bestellabschluss erstellt werden.

Dadurch ist sichergestellt, dass unser Bestellprozess, unser Service sowie unsere Produkte von echten Kunden bewertet werden, die ihre Erfahrungen mit ihnen teilen möchten.


"Meine erste Adresse!"
- Heiner Schnorrenberg

"war alles gut. Schwierigkeiten habe ich immer mal wieder (nicht nur bei euch) dadurch, dass die Nummern unterschiedlich heißen: - Bestellnummer, Artikelnummer - Auftragsnummer, Bestellnummer, Verwendungszweck"
- Matthias Schwarz

"...wir kommen wieder :-)"
-

"Vor vielen Jahren habe ich das erste Mal bei Ihnen bestellt und war sehr zufrieden. Jetzt habe ich - endlich - ein Kundenkonto angelegt."
- Jürgen Schmidt

"Ich kaufe seit einigen Jahren nur noch über Ihren Shop die benötigten Schrauben und Normteile, da eigentlich jede Größe zu finden ist und die Lieferung sehr zügig geht."
-

Unsere Cookie-Richtlinien

Wir nutzen Cookies, um unsere Seite für Sie bestmöglich zu gestalten und dauerhaft zu verbessern. Weitere Informationen erhalten Sie in unserer Datenschutzerklärung. Ohne Ihre Zustimmung werden nur technisch notwendige Cookies verwendet.
AKZEPTIEREN
ABLEHNEN