DIN 609 Sechskant-Passschrauben mit langem Gewindezapfen

DIN 609 Sechskant-Paßschrauben mit langem Gewindezapfen sind Gewindeschrauben mit metrischen Regelgewinde (M) und Außensechskant-Kopf. Der gewindelose Schaft von Sechskant-Paß-Schrauben hat eine besonders genaue Passung. Diese werden im Maschinen- und Anlagenbau eingesetzt ist sind relativ teuer. Dafür unterliegen Paß-Schrauben einer genau definierten Toleranz. Sie besitzen keinen Antrieb im Kopf, hier ist der Kopf selbst der Antrieb der Schraube. Sie wird mit einem Ring- oder Gabelschlüssel bewegt. DIN 609 hat einen besonders langen Gewindezapfen. mehr ...


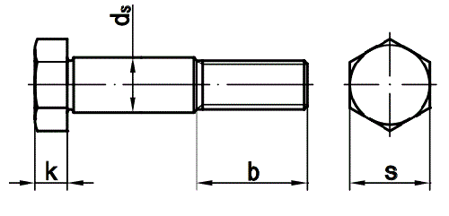
Technische Maße für DIN 609 Sechskant-Passschrauben mit langem Gewindezapfen

Legende:
Maße
= Durchmesser metrisches Gewinde (M) (Nennmaß)
k
= Höhe-Kopf
s
= Antrieb-Schlüsselweite
b1 (l < 50 mm)
= Länge-Gewinde
b2 (l < 150 mm)
= Länge-Gewinde
b3 (l > 150 mm)
= Länge-Gewinde
ds (Tol. k6)
= Durchmesser-Schaft

Maße M8 M10 M12 M14 M16 M20 M24 M30
k 5.3 6.4 7.5 8.8 10 12.5 15 19
s 13 16 18 21 24 30 36 46
ds (Tol. k6) 9 11 13 15 17 21 25 32
b1 (l < 50 mm) 14.5 17.5 20.5 22 25 28.5 - -
b2 (l < 150 mm) 16.5 19.5 22.5 24 27 30.5 36.5 43
b3 (l > 150 mm) 21.5 24.5 27.5 29 32 35.5 41.5 48

weitere Informationen

 

Lieferbare Werkstoffe von DIN 609

Dieses Produkt bieten wir nur in Stahl 8.8 blank an.

 

Vorteile von Sechskantschrauben

Anders als bei Schrauben mit Schlitz oder Kreuzschlitz können Außensechskantschrauben auch eingesetzt werden, wenn der Schraubenkopf von oben nicht mehr erreichbar ist. Außerdem eignen sich Sechskantschrauben durch die relativ geringe Kopfhöhe, wenn Platzmangel herrscht.

Alle Angaben ohne Gewähr, Gewährleistung oder Haftung.


Version 3.24.2 - Servername: WEBAPP11


 
 Warenkorb
Zur Kasse | Drucken
 
Ihr Warenkorb ist leer

DIN 9021 Scheiben, Außendurchmesser = 3x Schraubendurchmesser Stahl Klasse A, 100/140 HV

DIN 9021 Scheiben, Außendurchmesser = 3x Schraubendurchmesser Stahl Klasse A, 100/140 HV
 
Artikel-Nr. 1550-146
Werkstoff STAHL - verzinkt
Norm DIN 9021
Abmessung 6,4 f. M 6

DIN 7504 Bohrschrauben N mit Linsenkopf, Blechschraubengewinde PZ-Kreuzschlitz

DIN 7504 Bohrschrauben N mit Linsenkopf, Blechschraubengewinde PZ-Kreuzschlitz
 
Artikel-Nr. 4259-021
Werkstoff ROSTFREI A2
Norm DIN 7504NZ
Abmessung N 5,5 x 100 Z

DIN 936 Sechskantmuttern niedrige Form

DIN 936 Sechskantmuttern niedrige Form
 
Artikel-Nr. 2982-984
Werkstoff STAHL 04/17 H - verzinkt
Norm DIN 936
Abmessung M 20
Unsere App - jetzt online!
NEU im Sortiment: Zusätzlich über 15.000 neue Kleinmengen
Zertifizierung

Kundenbewertungen (2.118)
So entstehen unsere Kundenbewertungen

Unsere Kundenbewertungen einschließlich der Sternebewertungen können nur nach Bestellabschluss erstellt werden.

Dadurch ist sichergestellt, dass unser Bestellprozess, unser Service sowie unsere Produkte von echten Kunden bewertet werden, die ihre Erfahrungen mit ihnen teilen möchten.


"Wie immer TOP! Weiter so :-) MFG "
-

"Ich kaufe nun schon sehr lange bei Schrauben Wegertseder ein. Die Lieferung war immer sehr schnell und die Ware war wie beschrieben in hervorragender Qualität."
- Hartmund Lawrenz

"Ich bin immer wieder bestens bedient! Danke"
- Erik Fischer

"Bestelle jetzt schon seit Jahren, noch nie eine Reklamation. Weiter so."
-

"Insgesamt sehr zufrieden. Hutmuttern M6 hohe Form aus Aluminium vermisse ich noch. Schönen Tag noch."
-

Unsere Cookie-Richtlinien

Wir nutzen Cookies, um unsere Seite für Sie bestmöglich zu gestalten und dauerhaft zu verbessern. Weitere Informationen erhalten Sie in unserer Datenschutzerklärung. Ohne Ihre Zustimmung werden nur technisch notwendige Cookies verwendet.
AKZEPTIEREN
ABLEHNEN