DIN 472 Sicherungsringe für Bohrungen, Regelausführung

DIN 472 Sicherungsringe für Bohrungen sind meist gestanzte Metallplatten in Form eines gebogenen Rings. Sie werden oft nach einem Hersteller als Seeger-Ring bezeichnet. Es handelt sich dabei um Maschinenelemente, die der axialen Lagesicherung von Bolzen in Bohrlöchern dienen. Die Bohrlochsicherungen werden auf einer Bohrungsnut angebracht. Die Sicherung muss an den Bohrlochdurchmesser angepasst werden.


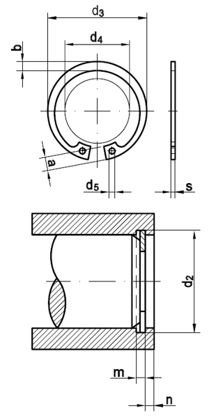
Technische Maße für DIN 472 Sicherungsringe für Bohrungen, Regelausführung

Legende:
s
= Stärke (Blech)
a
= radiale Breite des Auges
b
= radiale Breite des Rings gegenüber der Öffnung
d5
= Durchmesser-Innen der Montagelöcher
Maße
= Durchmesser-Bohrung (Nennmaß)
d3
= Durchmesser-Außen im ungespannten Zustand
m
= Nutbreite der Bohrung
d2
= Nutdurchmesser der Bohrung
n
= Bundbreite der Bohrung

Maße8910111213141516171819
s0,80,81111111111
d38,79,810,811,81314,115,116,217,318,319,520,5
a2,42,53,23,33,43,63,73,73,83,94,14,1
b1,11,31,41,51,71,81,9222,12,22,2
d5111,21,21,51,51,71,71,71,722
d28,49,410,411,412,513,614,615,716,817,81920
m0,90,91,11,11,11,11,11,11,11,11,11,1
n0,60,60,60,60,80,90,91,11,21,21,51,5
Maße202122232425262728293031
s1111,21,21,21,21,21,21,21,21,2
d321,522,523,524,625,926,927,929,130,131,132,133,4
a4,24,24,24,24,44,54,74,74,84,84,85,2
b2,32,42,52,52,62,72,82,92,9333,2
d5222222222222,5
d221222324,125,226,227,228,429,430,431,432,7
m1,11,11,11,31,31,31,31,31,31,31,31,3
n1,51,51,51,71,81,81,82,12,12,12,12,6
Maße323334353637383940414244
s1,21,21,51,51,51,51,51,51,751,751,751,75
d334,435,536,537,838,839,840,84243,544,545,547,5
a5,45,45,45,45,45,55,55,65,85,95,96
b3,23,33,33,43,53,63,73,83,944,14,2
d52,52,52,52,52,52,52,52,52,52,52,52,5
d233,734,735,7373839404142,543,544,546,5
m1,31,31,61,61,61,61,61,61,851,851,851,85
n2,62,62,6333333,83,83,83,8
Maße454647485051525354555657
s1,751,751,751,7522222222
d348,549,550,551,554,255,256,257,258,259,260,261,2
a6,26,36,46,46,56,56,76,76,76,86,86,8
b4,34,44,44,54,64,74,74,9555,15,1
d52,52,52,52,52,52,52,52,52,52,52,52,5
d247,548,549,550,55354555657585960
m1,851,851,851,852,152,152,152,152,152,152,152,15
n3,83,83,83,84,54,54,54,54,54,54,54,5
Maße586062636465676870727577
s222222,52,52,52,52,52,52,5
d362,264,266,267,268,269,271,572,574,576,579,582,5
a6,97,37,37,37,47,67,77,87,87,87,88,5
b5,25,45,55,65,75,866,16,26,46,66,8
d52,52,52,52,52,53333333
d2616365666768707173757880
m2,152,152,152,152,152,656,652,652,652,652,652,65
n4,54,54,54,54,54,54,54,54,54,54,54,5
Maße78808285889092959798100102
s2,52,52,5333333334
d382,585,587,590,593,595,597,5100,5103,5103,5105,5108
a8,58,58,58,68,68,68,788,8999,29,5
b6,8777,27,47,67,88,18,38,38,48,5
d53333,53,53,53,53,53,53,53,53,5
d28183,585,588,591,593,595,598,5100,5101,5103,5106
m2,652,652,653,153,153,153,153,153,153,153,154,15
n4,55,35,35,35,35,35,35,35,35,366
Maße105108110112115       
s44444       
d3112115117119122       
a9,59,510,410,510,5       
b8,78,999,19,3       
d53,53,53,53,53,5       
d2109112114116119       
m4,154,154,154,154,15       
n66666       

weitere Informationen

Alle Angaben ohne Gewähr, Gewährleistung oder Haftung.


Version 3.24.2 - Servername: WEBAPP11


 
 Warenkorb
Zur Kasse | Drucken
 
Ihr Warenkorb ist leer

DIN 985 Sechskantmuttern, Polyamidklemmteil, niedrige Form (=Standard)

DIN 985 Sechskantmuttern, Polyamidklemmteil, niedrige Form (=Standard)
 
Artikel-Nr. 3346-234
Werkstoff ROSTFREI A2
Norm DIN 985
Abmessung M 4

ISO 14581 Senkschrauben mit Innensechsrund (TX)

ISO 14581 Senkschrauben mit Innensechsrund (TX)
 
Artikel-Nr. 4669-083
Werkstoff ROSTFREI A4
Norm ISO 14581
Abmessung M 6 x 120 TX
Hier finden Sie das zuletzt angesehene Produkt
Unsere App - jetzt online!
NEU im Sortiment: Entdecken Sie die SPAX-Vielfalt bei Wegertseder
Zertifizierung

Kundenbewertungen (2.118)
So entstehen unsere Kundenbewertungen

Unsere Kundenbewertungen einschließlich der Sternebewertungen können nur nach Bestellabschluss erstellt werden.

Dadurch ist sichergestellt, dass unser Bestellprozess, unser Service sowie unsere Produkte von echten Kunden bewertet werden, die ihre Erfahrungen mit ihnen teilen möchten.


"Meine erste Adresse!"
- Heiner Schnorrenberg

"war alles gut. Schwierigkeiten habe ich immer mal wieder (nicht nur bei euch) dadurch, dass die Nummern unterschiedlich heißen: - Bestellnummer, Artikelnummer - Auftragsnummer, Bestellnummer, Verwendungszweck"
- Matthias Schwarz

"...wir kommen wieder :-)"
-

"Vor vielen Jahren habe ich das erste Mal bei Ihnen bestellt und war sehr zufrieden. Jetzt habe ich - endlich - ein Kundenkonto angelegt."
- Jürgen Schmidt

"Ich kaufe seit einigen Jahren nur noch über Ihren Shop die benötigten Schrauben und Normteile, da eigentlich jede Größe zu finden ist und die Lieferung sehr zügig geht."
-

Unsere Cookie-Richtlinien

Wir nutzen Cookies, um unsere Seite für Sie bestmöglich zu gestalten und dauerhaft zu verbessern. Weitere Informationen erhalten Sie in unserer Datenschutzerklärung. Ohne Ihre Zustimmung werden nur technisch notwendige Cookies verwendet.
AKZEPTIEREN
ABLEHNEN