DIN 444 Augenschrauben

DIN 444 Augenschrauben sind Schrauben mit einer speziellen Kopfform, einem Auge. Nicht zu verwechseln sind Augenschrauben mit Ringschrauben, die einen anderen Anwendungsbereich haben. Augenschrauben werden dort eingesetzt, wo eine Last schnell gelöst werden muss. Durch das Auge wird ein Bolzen oder Seil montiert. Die Augenschraube wird an der Gewindeseite mit einer Mutter gesichert. Die Gewindelänge ist nicht genormt, wir bieten aber eigens eine Gruppe Augenschrauben an, die nur ein Vollgewinde haben. Es gilt der Grundsatz: je länger die Nennlänge der Augenschraube ist, desto wahrscheinlicher hat sie einen gewindelosen Schaft. mehr ...


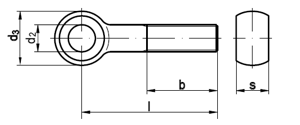
Technische Maße für DIN 444 Augenschrauben

Legende:
Maße
= Durchmesser metrisches Gewinde (M) (Nennmaß)
d3
= Durchmesser-Kopf
s
= Höhe-Kopf
b1 f.
= Länge-Gewinde
b2
= Länge-Gewinde
b3
= Länge-Gewinde
d2
= Auge-Innendurchmesser

MaßeM 5M 6M 8M 10M 12M 12M 16M 16
d25681012121616
d31214182025253232
s6791214141717
b1 f.1618222630303838
b2--283236364444
b3----49495757
a1114161823232727
MaßeM 20M 20M 24M 24M 30M 30  
d21818222227 / 2827 / 28  
d3404045455555  
s222225253030  
b1 f.454554546666  
b2525260607272  
b3656573738585  
a323240404646  

weitere Informationen

 

Arten und Werkstoffe bei DIN 444 Augenschrauben

Wir liefern Augenschrauben mit gewindelosem Schaft oder Vollgewinde. Bitte beachten Sie, dass das Vollgewinde nur bei den Augenschrauben mit Vollgewinde garantiert ist. Produktionstechnisch bedingt reicht das Vollgewinde aber auch nur bis auf wenige Millimeter unter den Augenkopf der Augenschraube. Als Werkstoff kommt normalerweise verzinkter Stahl oder rostfreier Stahl Edelstahl Rostfrei A2 oder A4 zum Einsatz. A4 eignet sich auch für den Einsatz in maritimer Witterung in der Nähe oder bei Kontakt mit Salzwasser und Säuren.

Alle Angaben ohne Gewähr, Gewährleistung oder Haftung.


Version 3.24.2 - Servername: WEBAPP11


 
 Warenkorb
Zur Kasse | Drucken
 
Ihr Warenkorb ist leer

DIN 912 Zylinderschrauben, mit Innensechskant

DIN 912 Zylinderschrauben, mit Innensechskant
 
Artikel-Nr. 2534-432
Werkstoff ROSTFREI A2
Norm DIN 912
Abmessung M 6 x 30

Art. Konstruktionsschrauben, Innensechsrund (TX), Senkkopf, Teilgewinde, Importware

Art. Konstruktionsschrauben, Innensechsrund (TX), Senkkopf, Teilgewinde, Importware
 
Artikel-Nr. 4478-009
Werkstoff ROSTFREI A2
Norm Art. 82076
Abmessung 10 x 90 TX

DIN 7 Zylinderstifte, Passung m6

DIN 7 Zylinderstifte, Passung m6
 
Artikelgruppe 1016
Werkstoff ROSTFREI A4
Norm DIN 7
Abmessung A10
Unsere App - jetzt online!
NEU im Sortiment: Zusätzlich über 15.000 neue Kleinmengen
Zertifizierung

Kundenbewertungen (2.118)
So entstehen unsere Kundenbewertungen

Unsere Kundenbewertungen einschließlich der Sternebewertungen können nur nach Bestellabschluss erstellt werden.

Dadurch ist sichergestellt, dass unser Bestellprozess, unser Service sowie unsere Produkte von echten Kunden bewertet werden, die ihre Erfahrungen mit ihnen teilen möchten.


"Bin sehr zufrieden. Habe Euch auch schon weiterempfohlen."
-

"Ich kaufe nun schon sehr lange bei Schrauben Wegertseder ein. Die Lieferung war immer sehr schnell und die Ware war wie beschrieben in hervorragender Qualität."
- Hartmund Lawrenz

"Alles toll, da ich das erste Mal bei Euch bestelle, kann ich zu der Lieferzeit und Verpackung nichts sagen. Ein entspanntes Wochenende und ich hoffe, das GLS morgen anliefert... ;-)"
- Michael Diekmann

"Vor vielen Jahren habe ich das erste Mal bei Ihnen bestellt und war sehr zufrieden. Jetzt habe ich - endlich - ein Kundenkonto angelegt."
- Jürgen Schmidt

"positiv"
-

Unsere Cookie-Richtlinien

Wir nutzen Cookies, um unsere Seite für Sie bestmöglich zu gestalten und dauerhaft zu verbessern. Weitere Informationen erhalten Sie in unserer Datenschutzerklärung. Ohne Ihre Zustimmung werden nur technisch notwendige Cookies verwendet.
AKZEPTIEREN
ABLEHNEN