DIN 316 Flügelschrauben runde Flügelform (deutsch)

DIN 316 Flügelmuttern runde Flügelform (deutsche Form) sind schöne Schrauben mit metrischem Regelgewinde (M) mit einer leicht konischen Außenform, die zwei radiale Erweiterungen in Form von Flügeln besitzen. Flügelschrauben werden häufig dort eingesetzt, wo ein schnelles Öffnen und Schließen der Mutter gewünscht wird, z. B. bei Deckeln, Gehäusen, Blechen oder Abschlüssen im Maschinenbau, bei Fahrzeugen wie Autos, Motorrädern, Traktoren oder im Modellbau. Auch setzt man sie bei höhenverstellbaren Stangen wie Sonnenschirmen ein. mehr ...


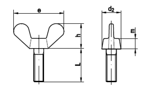
Technische Maße für DIN 316 Flügelschrauben runde Flügelform (deutsch)

Legende:
Maße
= Durchmesser metrisches Gewinde (M) (Nennmaß)
e
= Durchmesser-Kopf
h
= Höhe-Kopf
d2
= Durchmesser-Kopfansatz
m
= Höhe-Kopfansatz

Maße M 4 M 5 M 6 M 8 M 10 M 12 M16
d2 7 9,5 11,5 14,5 18,5 21,5 27,5
e 20 25 31,5 37 49,5 63,5 71,5
g 1,5 1,9 1,9 2,4 4 4,5 6
h 9,5 12 16 19 24 32,3 36,3
m 3,9 5,3 6,5 8,3 10 12 15

weitere Informationen

 

Unterschiedliche Arten von Flügelschrauben

Flügelschrauben werden nach DIN 316 hergestellt. Es gibt zwei Formen. Die kleine (amerikanische) Flügelform ist kleiner, benötigt bei der Herstellung weniger Material und ist deshalb auch günstiger. Die große Flügelform der Flügelmuttern wird auch als deutsche Form bezeichnet. Sie hat schöne, abgerundete Flügel und sieht für die meisten Anwender besser aus.

 

Montage von DIN 316 Flügelmuttern runde Flügelform

Flügelschrauben können ohne Werkzeug per Hand montiert werden. Wenn Sie dennoch eine Montage per Akkuschrauber oder Bohrmaschine wünschen, können Sie ein Eindrehwerkzeug für Haken (siehe Rubrik Werkzeuge) verwenden. Es erlaubt auch das maschinelle Verarbeiten von Flügelmuttern. Wenn Sie das passende Gegenstück auf der anderen Seite benötigen, können Sie auf Flügelmuttern zurückgreifen.

Alle Angaben ohne Gewähr, Gewährleistung oder Haftung.


Version 3.24.2 - Servername: WEBAPP11


 
 Warenkorb
Zur Kasse | Drucken
 
Ihr Warenkorb ist leer

DIN 985 Sechskantmuttern, Polyamidklemmteil, niedrige Form (=Standard)

DIN 985 Sechskantmuttern, Polyamidklemmteil, niedrige Form (=Standard)
 
Artikel-Nr. 3346-234
Werkstoff ROSTFREI A2
Norm DIN 985
Abmessung M 4

ISO 14581 Senkschrauben mit Innensechsrund (TX)

ISO 14581 Senkschrauben mit Innensechsrund (TX)
 
Artikel-Nr. 4669-083
Werkstoff ROSTFREI A4
Norm ISO 14581
Abmessung M 6 x 120 TX

DIN 601 Sechskantschrauben mit Schaft, mit Muttern (Durchmesser 12/16/20/24 sind Bauschrauben ähnlich DIN 601)

DIN 601 Sechskantschrauben mit Schaft, mit Muttern (Durchmesser 12/16/20/24 sind Bauschrauben ähnlich DIN 601)
 
Artikelgruppe 2640
Werkstoff STAHL 4.6 - feuerverzinkt
Norm DIN 601
Abmessung M24
Unsere App - jetzt online!
NEU im Sortiment: Zusätzlich über 15.000 neue Kleinmengen
Zertifizierung

Kundenbewertungen (2.118)
So entstehen unsere Kundenbewertungen

Unsere Kundenbewertungen einschließlich der Sternebewertungen können nur nach Bestellabschluss erstellt werden.

Dadurch ist sichergestellt, dass unser Bestellprozess, unser Service sowie unsere Produkte von echten Kunden bewertet werden, die ihre Erfahrungen mit ihnen teilen möchten.


"Meine erste Adresse!"
- Heiner Schnorrenberg

"war alles gut. Schwierigkeiten habe ich immer mal wieder (nicht nur bei euch) dadurch, dass die Nummern unterschiedlich heißen: - Bestellnummer, Artikelnummer - Auftragsnummer, Bestellnummer, Verwendungszweck"
- Matthias Schwarz

"...wir kommen wieder :-)"
-

"Vor vielen Jahren habe ich das erste Mal bei Ihnen bestellt und war sehr zufrieden. Jetzt habe ich - endlich - ein Kundenkonto angelegt."
- Jürgen Schmidt

"Ich kaufe seit einigen Jahren nur noch über Ihren Shop die benötigten Schrauben und Normteile, da eigentlich jede Größe zu finden ist und die Lieferung sehr zügig geht."
-

Unsere Cookie-Richtlinien

Wir nutzen Cookies, um unsere Seite für Sie bestmöglich zu gestalten und dauerhaft zu verbessern. Weitere Informationen erhalten Sie in unserer Datenschutzerklärung. Ohne Ihre Zustimmung werden nur technisch notwendige Cookies verwendet.
AKZEPTIEREN
ABLEHNEN