Seil-, Hebe- und Abspanntechnik

sind länglich geformte, an einer Längsseite geöffnete, gebogene Rundstahlbügel. An der Öffnung sind zwei metrische Außengewinde angebracht. Das eine Ende hat einen Sechskantansatz, am anderen Ende ist eine Außensechskant-Hülse mit Innengewinde angepasst und auf das Gewinde des Schraubenverbinders aufgeschraubt. Durch Schieben kann die Gewindehülse verschoben und am anderen Ende aufgeschraubt werden. Dadurch wird der Schraubenverbinder geschlossen. mehr ...


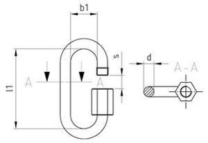
Technische Maße für Seil-, Hebe- und Abspanntechnik

Legende:
Maße (d)
= Drahtdurchmesser (Nennmaß)
l1
= Länge-Gesamt
b1
= Abstand-Bügel
s
= Breite-Öffnung

Maße (d) 4 5 6 8 10 12
b1 12 13 14,5 17,5 21 24
l1 32 39 45 58 69 81
s 5,5 6,5 7,5 10 12 14,5

weitere Informationen

 

Anwendung von Schraubenverbindern

Schraubenverbinder werden hauptsächlich in der Schifffahrt, im Maschinen- und Anlagenbau oder im Heimwerker-Bereich verwendet, um Drahtseile zu fixieren oder spannen, z. B. bei Balkongeländern aus Drahtseilen oder als Kletterhilfe für Rankpflanzen. Schraubenverbinder sind vergleichbar mit Kauschen, um mehrere Drahtseilschlaufen zu bündeln. Der Vorteil der Schraubenverbinder ist, dass durch die geschraubte Öffnung ein unbeabsichtigtes Lösen deutlich schwieriger ist. Nachteil ist aber, dass damit das Öffnen und Schließen länger dauert.

 

Lieferbare Werkstoffe bei Schraubenverbindern

Wir bieten Schraubenverbinder in Edelstahl Rostfrei A4 an. A4 ist hochsäurebeständiger Stahl, der beständig gegen Säuren und vor allem Salzwasser ist. Sie sollten bei Kontakt mit Salzwasser oder in Küstennähe nur Edelstahl Rostfrei A4 verwenden.

Alle Angaben ohne Gewähr, Gewährleistung oder Haftung.


Version 3.25.2 - Servername: WEBAPP11