Dokument drucken
   |   
   |   



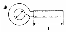
Art. 81641
Ringschrauben, metrisches Gewinde
(entspricht keiner anderen Norm)
Kein Bild vorhanden
MaßeM 3 x 10M 3 x 15M 3 x 20M 4 x 10M 4 x 15M 4 x 20M 4 x 25M 4 x 30M 4 x 40M 5 x 15M 5 x 20M 5 x 25M 5 x 30M 5 x 40
l11015201015202530401520253040
w55566666688888
l1116211116212632421621263242
d2,62,62,63,53,53,53,53,53,54,44,44,44,44,4
für metrisch (M)M 3M 3M 3M 4M 4M 4M 4M 4M 4M 5M 5M 5M 5M 5
MaßeM 5 x 50M 6 x 15M 6 x 20M 6 x 25M 6 x 30M 6 x 40M 6 x 50M 6 x 60M 6 x 80M 8 x 20M 8 x 25M 8 x 30M 8 x 40M 8 x 50
l15015202530405060802025304050
w810101010101010101212121212
l5216212632425262822126324252
d4,45,25,25,25,25,25,25,25,277777
für metrisch (M)M 5M 6M 6M 6M 6M 6M 6M 6M 6M 8M 8M 8M 8M 8
MaßeM 8 x 60M 8 x 80M 8 x 100M 8 x 150M 10 x 30M 10 x 40M 10 x 50M 10 x 60M 10 x 80M 10 x 100M 12 x 60M 12 x 100  
l16080100150304050608010060100  
w121212121414141414141818  
l6282102152324252628210262102  
d77778,98,98,98,98,98,910,610,6  
für metrisch (M)M 8M 8M 8M 8M 10M 10M 10M 10M 10M 10M 12M 12  



Alle Angaben ohne Gewähr, Irrtümer und Druckfehler vorbehalten. Technische Maße können teilweise umfangreicher als unser Lieferprogramm sein. © Wegertseder GmbH 1984 - 2025. Die kommerzielle Benutzung von Text und Bild ist nur mit vorheriger schriftlicher Zustimmung erlaubt. Bilder und PDF-Dateien enthalten digitale Signaturen, die auch teilweise oder veränderte Entnahme nachvollziehbar machen.




Version 3.24.2 - Servername: WEBAPP11


 
 Warenkorb
Zur Kasse | Drucken
 
Ihr Warenkorb ist leer

DIN 933 Sechskantschrauben, Gewinde bis Kopf

DIN 933 Sechskantschrauben, Gewinde bis Kopf
 
Artikel-Nr. 2748-098
Werkstoff STAHL 8.8 - verzinkt
Norm DIN 933
Abmessung M 8 x 30

Art. Konstruktionsschrauben, Innensechsrund (TX), Senkkopf, Teilgewinde, Importware

Art. Konstruktionsschrauben, Innensechsrund (TX), Senkkopf, Teilgewinde, Importware
 
Artikel-Nr. 4478-008
Werkstoff ROSTFREI A2
Norm Art. 82076
Abmessung 10 x 70 TX

DIN 463 Scheiben mit 2 Lappen

DIN 463 Scheiben mit 2 Lappen
 
Artikel-Nr. 1818-840
Werkstoff STAHL
Norm DIN 463
Abmessung 37
Unsere App - jetzt online!
NEU im Sortiment: Entdecken Sie die SPAX-Vielfalt bei Wegertseder
Zertifizierung

Kundenbewertungen (2.118)
So entstehen unsere Kundenbewertungen

Unsere Kundenbewertungen einschließlich der Sternebewertungen können nur nach Bestellabschluss erstellt werden.

Dadurch ist sichergestellt, dass unser Bestellprozess, unser Service sowie unsere Produkte von echten Kunden bewertet werden, die ihre Erfahrungen mit ihnen teilen möchten.


"Gerne wieder."
-

"immer sehr gute Erklärung/Info, denn ich habe keinerlei technische Ausbildung, nur Hobby/Landwirtschaft"
- Friedrich Rauchenwald

"Ich kaufe seit einigen Jahren nur noch über Ihren Shop die benötigten Schrauben und Normteile, da eigentlich jede Größe zu finden ist und die Lieferung sehr zügig geht."
-

"Leider sind nicht alle Dinge im Onlineshop bestellbar"
- Stefan Wilhelm

"Sie haben sich zur ersten Adresse für Schrauben entwickelt! Wir danken Ihnen. Gruß David Fuchs"
-

Unsere Cookie-Richtlinien

Wir nutzen Cookies, um unsere Seite für Sie bestmöglich zu gestalten und dauerhaft zu verbessern. Weitere Informationen erhalten Sie in unserer Datenschutzerklärung. Ohne Ihre Zustimmung werden nur technisch notwendige Cookies verwendet.
AKZEPTIEREN
ABLEHNEN