Dokument drucken
   |   
   |    Normen-Umstellung



ISO 8741
Steckkerbstifte
(austauschbar mit DIN 1474)
Kein Bild vorhanden
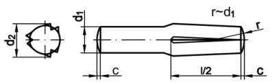
Maße (d1) 1,5 2 2,5 3 4 5 6 8 10 12
d2 1,60 - 1,63 2,10 - 2,15 2,60 - 2,70 3,20 - 3,30 4,15 - 4,30 5,15 - 5,30 6,15 - 6,35 8,20 - 8,40 10,20 - 10,45 12,25 - 12,50
c 0,2 0,25 0,3 0,4 0,5 0,63 0,85 1 1,2 1,6
Abscherkraft in kN 1,6 2,84 4,4 6,4 11,3 17,6 25,4 45,2 70,4 101,8
Normenumstellungs-Tabelle

DIN Durchmesser DIN Hinweistext DIN Änderungstext ISO Durchmesser ISO Hinweistext ISO
DIN 1474 1,5 Länge exklusive Kuppen Änderung der Längenberechnung: DIN-Norm exklusive Kuppen ISO-Norm inklusive Kuppen ISO 8741 1,5 Länge inklusive Kuppen
DIN 1474 2 Länge exklusive Kuppen Änderung der Längenberechnung: DIN-Norm exklusive Kuppen ISO-Norm inklusive Kuppen ISO 8741 2 Länge inklusive Kuppen
DIN 1474 2,5 Länge exklusive Kuppen Änderung der Längenberechnung: DIN-Norm exklusive Kuppen ISO-Norm inklusive Kuppen ISO 8741 2,5 Länge inklusive Kuppen
DIN 1474 3 Länge exklusive Kuppen Änderung der Längenberechnung: DIN-Norm exklusive Kuppen ISO-Norm inklusive Kuppen ISO 8741 3 Länge inklusive Kuppen
DIN 1474 4 Länge exklusive Kuppen Änderung der Längenberechnung: DIN-Norm exklusive Kuppen ISO-Norm inklusive Kuppen ISO 8741 4 Länge inklusive Kuppen
DIN 1474 5 Länge exklusive Kuppen Änderung der Längenberechnung: DIN-Norm exklusive Kuppen ISO-Norm inklusive Kuppen ISO 8741 5 Länge inklusive Kuppen
DIN 1474 6 Länge exklusive Kuppen Änderung der Längenberechnung: DIN-Norm exklusive Kuppen ISO-Norm inklusive Kuppen ISO 8741 6 Länge inklusive Kuppen
DIN 1474 8 Länge exklusive Kuppen Änderung der Längenberechnung: DIN-Norm exklusive Kuppen ISO-Norm inklusive Kuppen ISO 8741 8 Länge inklusive Kuppen
DIN 1474 10 Länge exklusive Kuppen Änderung der Längenberechnung: DIN-Norm exklusive Kuppen ISO-Norm inklusive Kuppen ISO 8741 10 Länge inklusive Kuppen
DIN 1474 12 Länge exklusive Kuppen Änderung der Längenberechnung: DIN-Norm exklusive Kuppen ISO-Norm inklusive Kuppen ISO 8741 12 Länge inklusive Kuppen


Alle Angaben ohne Gewähr, Irrtümer und Druckfehler vorbehalten. Technische Maße können teilweise umfangreicher als unser Lieferprogramm sein. © Wegertseder GmbH 1984 - 2025. Die kommerzielle Benutzung von Text und Bild ist nur mit vorheriger schriftlicher Zustimmung erlaubt. Bilder und PDF-Dateien enthalten digitale Signaturen, die auch teilweise oder veränderte Entnahme nachvollziehbar machen.




Version 3.24.2 - Servername: WEBAPP11


 
 Warenkorb
Zur Kasse | Drucken
 
Ihr Warenkorb ist leer

DIN 125 Unterlegscheiben Form A Stahl Klasse 140 HV

DIN 125 Unterlegscheiben Form A Stahl Klasse 140 HV
 
Artikel-Nr. 1490-218
Werkstoff STAHL - verzinkt
Norm DIN 125A
Abmessung A 10,5 f. M 10

ISO 7380 Flachkopfschrauben mit Innensechsrund (TX)

ISO 7380 Flachkopfschrauben mit Innensechsrund (TX)
 
Artikel-Nr. 4251-113
Werkstoff ROSTFREI A4
Norm ISO 7380TX
Abmessung M 8 x 55 TX

DIN 935 Kronenmuttern hohe Form

DIN 935 Kronenmuttern hohe Form
 
Artikel-Nr. 3244-958
Werkstoff ROSTFREI A4
Norm DIN 935
Abmessung M 24
Unsere App - jetzt online!
NEU im Sortiment: Zusätzlich über 15.000 neue Kleinmengen
Zertifizierung

Kundenbewertungen (2.120)
So entstehen unsere Kundenbewertungen

Unsere Kundenbewertungen einschließlich der Sternebewertungen können nur nach Bestellabschluss erstellt werden.

Dadurch ist sichergestellt, dass unser Bestellprozess, unser Service sowie unsere Produkte von echten Kunden bewertet werden, die ihre Erfahrungen mit ihnen teilen möchten.


"ja, alle beim THW finden den Shop toll ;-)"
-

"Ich kaufe nun schon sehr lange bei Schrauben Wegertseder ein. Die Lieferung war immer sehr schnell und die Ware war wie beschrieben in hervorragender Qualität."
- Hartmund Lawrenz

"Gehört zu den Standardshops auf meiner Online-Einkaufsliste! Hier finde ich schnell, was ich suche!"
- Hans-Karl Becker

"Ihr seid die Besten! So solle es sein, Germany statt China! DANKE!"
- Konrad Wagner

"Bin absolut zufrieden, Danke, dass Sie auch relative Kleinaufträge für Privatkäufer ermöglichen.BesteGrüße,SOH"
- Sven-Oliver Henkel

Unsere Cookie-Richtlinien

Wir nutzen Cookies, um unsere Seite für Sie bestmöglich zu gestalten und dauerhaft zu verbessern. Weitere Informationen erhalten Sie in unserer Datenschutzerklärung. Ohne Ihre Zustimmung werden nur technisch notwendige Cookies verwendet.
AKZEPTIEREN
ABLEHNEN