Dokument drucken
   |   
   |   



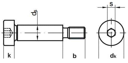
DIN 7379
DIN ISO 7379 Paß-Schulterschrauben, Passung h8, Außen-Nennmaße
(entspricht keiner anderen Norm)
Kein Bild vorhanden
Maße (d) M 5 M 6 M 8 M 10 M 12 M 16
dk 10 13 16 18 24 30
ds 6 8 10 12/13 16 20
k 4,5 5,5 7 9 11 14
s 3 4 5 6 8 10
b 9,75 11,25 13,25 16,4 18,4 22,4



Alle Angaben ohne Gewähr, Irrtümer und Druckfehler vorbehalten. Technische Maße können teilweise umfangreicher als unser Lieferprogramm sein. © Wegertseder GmbH 1984 - 2025. Die kommerzielle Benutzung von Text und Bild ist nur mit vorheriger schriftlicher Zustimmung erlaubt. Bilder und PDF-Dateien enthalten digitale Signaturen, die auch teilweise oder veränderte Entnahme nachvollziehbar machen.




Version 3.24.2 - Servername: WEBAPP12


 
 Warenkorb
Zur Kasse | Drucken
 
Ihr Warenkorb ist leer

DIN 125 Unterlegscheiben Form A

DIN 125 Unterlegscheiben Form A
 
Artikel-Nr. 1498-302
Werkstoff ROSTFREI A2
Norm DIN 125A
Abmessung A 6,4 f. M 6

Art. Senkkopf -Spanplattenschrauben Fräsrippen, Schneidkerbe, Innensechsrund (TX)

Art. Senkkopf -Spanplattenschrauben Fräsrippen, Schneidkerbe, Innensechsrund (TX)
 
Artikel-Nr. 4291-066
Werkstoff ROSTFREI A2
Norm Art. 81928
Abmessung 6 x 200 TX

ISO 4017 Sechskantschrauben mit Gewinde bis Kopf, ISO-Schlüsselweiten

ISO 4017 Sechskantschrauben mit Gewinde bis Kopf, ISO-Schlüsselweiten
 
Artikelgruppe 2830
Werkstoff STAHL 12.9
Norm ISO 4017
Abmessung M16
Unsere App - jetzt online!
NEU im Sortiment: Zusätzlich über 15.000 neue Kleinmengen
Zertifizierung

Kundenbewertungen (2.175)
So entstehen unsere Kundenbewertungen

Unsere Kundenbewertungen einschließlich der Sternebewertungen können nur nach Bestellabschluss erstellt werden.

Dadurch ist sichergestellt, dass unser Bestellprozess, unser Service sowie unsere Produkte von echten Kunden bewertet werden, die ihre Erfahrungen mit ihnen teilen möchten.


"Wegertseder = Klasse Sortiment, übersichtlich, preiswert."
-

"Passt alles, was angeboten wird wird auch geliefert und das sehr schnell. Sehr gute Qualität"
- Klaus Lauber

"Alles toll, da ich das erste Mal bei Euch bestelle, kann ich zu der Lieferzeit und Verpackung nichts sagen. Ein entspanntes Wochenende und ich hoffe, das GLS morgen anliefert... ;-)"
- Michael Diekmann

"Leider sind nicht alle Dinge im Onlineshop bestellbar"
- Stefan Wilhelm

"Insgesamt sehr zufrieden. Hutmuttern M6 hohe Form aus Aluminium vermisse ich noch. Schönen Tag noch."
-

Unsere Cookie-Richtlinien

Wir nutzen Cookies, um unsere Seite für Sie bestmöglich zu gestalten und dauerhaft zu verbessern. Weitere Informationen erhalten Sie in unserer Datenschutzerklärung. Ohne Ihre Zustimmung werden nur technisch notwendige Cookies verwendet.
AKZEPTIEREN
ABLEHNEN