Dokument drucken
   |   
   |   



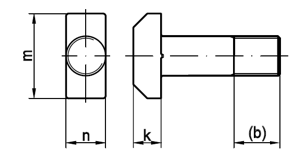
DIN 261
Hammerschrauben mit Sechskantmutter
(entspricht keiner anderen Norm)
Kein Bild vorhanden
Maße (d) M 6 M 8 M 10 M 12 M 16 M 20 M 24
m 16 18 21 26 30 36 43
n 6 8 10 12 16 20 24
k 4,5 5,5 7 8 10,5 13 15
lg 10 13 16 19 25 32 15
b1 für L < 125 18 22 26 30 38 46 54
b2 für L < 200 - - - - 44 52 60



Alle Angaben ohne Gewähr, Irrtümer und Druckfehler vorbehalten. Technische Maße können teilweise umfangreicher als unser Lieferprogramm sein. © Wegertseder GmbH 1984 - 2025. Die kommerzielle Benutzung von Text und Bild ist nur mit vorheriger schriftlicher Zustimmung erlaubt. Bilder und PDF-Dateien enthalten digitale Signaturen, die auch teilweise oder veränderte Entnahme nachvollziehbar machen.




Version 3.24.2 - Servername: WEBAPP11


 
 Warenkorb
Zur Kasse | Drucken
 
Ihr Warenkorb ist leer

DIN 933 Sechskantschrauben, Gewinde bis Kopf

DIN 933 Sechskantschrauben, Gewinde bis Kopf
 
Artikel-Nr. 2748-097
Werkstoff STAHL 8.8 - verzinkt
Norm DIN 933
Abmessung M 8 x 25

DIN 7983 Linsen-SENK-Blechschrauben mit Innensechsrund (TX), C= mit Spitze

DIN 7983 Linsen-SENK-Blechschrauben mit Innensechsrund (TX), C= mit Spitze
 
Artikel-Nr. 4279-023
Werkstoff ROSTFREI A4
Norm DIN 7983TX
Abmessung C 6,3 x 120 TX

ähnlich DIN 3017 Schlauchschelle, Bandbreite 9 mm

ähnlich DIN 3017 Schlauchschelle, Bandbreite 9 mm
 
Artikelgruppe 3915
Werkstoff STAHL - verzinkt
Norm DIN 3017
Unsere App - jetzt online!
NEU im Sortiment: Zusätzlich über 15.000 neue Kleinmengen
Zertifizierung

Kundenbewertungen (2.174)
So entstehen unsere Kundenbewertungen

Unsere Kundenbewertungen einschließlich der Sternebewertungen können nur nach Bestellabschluss erstellt werden.

Dadurch ist sichergestellt, dass unser Bestellprozess, unser Service sowie unsere Produkte von echten Kunden bewertet werden, die ihre Erfahrungen mit ihnen teilen möchten.


"ich sags immer wieder NICHTS ändern! Ihr seid TOP!! Euer Versand ist der absolute OBERHAMMER * * * * *"
- Uwe Krippner

"Gerne wieder."
-

"Ihr seid die Besten! So solle es sein, Germany statt China! DANKE!"
- Konrad Wagner

"Leider sind nicht alle Dinge im Onlineshop bestellbar"
- Stefan Wilhelm

"Insgesamt sehr zufrieden. Hutmuttern M6 hohe Form aus Aluminium vermisse ich noch. Schönen Tag noch."
-

Unsere Cookie-Richtlinien

Wir nutzen Cookies, um unsere Seite für Sie bestmöglich zu gestalten und dauerhaft zu verbessern. Weitere Informationen erhalten Sie in unserer Datenschutzerklärung. Ohne Ihre Zustimmung werden nur technisch notwendige Cookies verwendet.
AKZEPTIEREN
ABLEHNEN