Dokument drucken
   |   
   |   



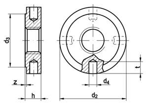
DIN 1816
Kreuzlochmuttern, w= ungehärtet, ungeschliffen
(entspricht keiner anderen Norm)
Kein Bild vorhanden
MaßeM 10 x 1M 12 x 1,5M 14 x 1,5M 16 x 1,5M 18 x 1,5M 20 x 1,5M 22 x 1,5M 24 x 1,5M 26 x 1,5M 28 x 1,5M 30 x 1,5M 32 x 1,5M 35 x 1,5M 38 x 1,5M 40 x 1,5M 42 x 1,5M 45 x 1,5M 48 x 1,5
d2252830323436404245505052555862626875
d3202325272830343638434345485054546067
d4334444445555556666
h6677889910101011111112121213
t4,5556666667777888810
z0,50,50,50,50,50,50,50,50,50,50,50,50,50,50,50,50,50,5
Anzahl Nuten444444444444444466
MaßeM 50 x 1,5M 52 x 1,5M 55 x 1,5M 58 x 1,5M 60 x 1,5M 62 x 1,5M 65 x 1,5M 68 x 1,5M 70 x 1,5M 72 x 1,5M 75 x 2M 80 x 2M 85 x 2M 90 x 2M 95 x 2M 100 x 2  
d275808090909595100100110110115120130135145  
d3677070808085859090100100105110120120130  
d46666688888888888  
h13131313131414141414141616161616  
t10101010101212121212121212121212  
z0,50,50,50,50,50,50,50,50,50,50,511111  
Anzahl Nuten6666666666666666  
DIN 1816 Kreuzlochmuttern, w= ungehärtet, ungeschliffen



Alle Angaben ohne Gewähr, Irrtümer und Druckfehler vorbehalten. Technische Maße können teilweise umfangreicher als unser Lieferprogramm sein. © Wegertseder GmbH 1984 - 2025. Die kommerzielle Benutzung von Text und Bild ist nur mit vorheriger schriftlicher Zustimmung erlaubt. Bilder und PDF-Dateien enthalten digitale Signaturen, die auch teilweise oder veränderte Entnahme nachvollziehbar machen.




Version 3.24.2 - Servername: WEBAPP11


 
 Warenkorb
Zur Kasse | Drucken
 
Ihr Warenkorb ist leer

DIN 933 Sechskantschrauben, Gewinde bis Kopf

DIN 933 Sechskantschrauben, Gewinde bis Kopf
 
Artikel-Nr. 2748-093
Werkstoff STAHL 8.8 - verzinkt
Norm DIN 933
Abmessung M 8 x 16

DIN 7504 Bohrschrauben N mit Linsenkopf, Blechschraubengewinde PZ-Kreuzschlitz

DIN 7504 Bohrschrauben N mit Linsenkopf, Blechschraubengewinde PZ-Kreuzschlitz
 
Artikel-Nr. 4259-010
Werkstoff ROSTFREI A2
Norm DIN 7504NZ
Abmessung N 4,8 x 75 Z

ISO 4762 Zylinderschrauben, mit Innensechskant

ISO 4762 Zylinderschrauben, mit Innensechskant
 
Artikelgruppe 4808
Werkstoff STAHL 8.8
Norm ISO 4762
Abmessung M27
Unsere App - jetzt online!
NEU im Sortiment: Zusätzlich über 15.000 neue Kleinmengen
Zertifizierung

Kundenbewertungen (2.174)
So entstehen unsere Kundenbewertungen

Unsere Kundenbewertungen einschließlich der Sternebewertungen können nur nach Bestellabschluss erstellt werden.

Dadurch ist sichergestellt, dass unser Bestellprozess, unser Service sowie unsere Produkte von echten Kunden bewertet werden, die ihre Erfahrungen mit ihnen teilen möchten.


"ich sags immer wieder NICHTS ändern! Ihr seid TOP!! Euer Versand ist der absolute OBERHAMMER * * * * *"
- Uwe Krippner

"Alles bestens schnelle Lieferungen"
- Marko Hanke

"Sehr freundliche und kompetente Unterstützung"
-

"Es funktioniert einfach, im wahsten Sinne des Wortes - Vielen Dank dafür."
-

"immer sehr gute Erklärung/Info, denn ich habe keinerlei technische Ausbildung, nur Hobby/Landwirtschaft"
- Friedrich Rauchenwald

Unsere Cookie-Richtlinien

Wir nutzen Cookies, um unsere Seite für Sie bestmöglich zu gestalten und dauerhaft zu verbessern. Weitere Informationen erhalten Sie in unserer Datenschutzerklärung. Ohne Ihre Zustimmung werden nur technisch notwendige Cookies verwendet.
AKZEPTIEREN
ABLEHNEN