1. Normung
1.1 Sinn einer Normung (nach oben)
Der Vorteil von Normung als Form der Standardisierung liegt in der einfacheren Arbeit mit genormten Bauteilen, da diese untereinander austauschbar sind. Dazu ist es notwendig, dass die grundlegenden Eigenschaften von Normteilen von einer Zentralstelle festgelegt und von Herstellern und Handel verwendet werden.
1.2 Institutionen zur Ausgabe von Normen (nach oben)
| Norm | Informationen |
| DIN-Norm | Herausgeber: Deutsches Institut für Normung = nationale, deutsche Norm DIN-Normen werden neben Verbindungselementen auch für elektrische Bausteine oder organisatorische Methoden vergeben. DIN-Normen sind in Deutschland immer noch "üblich", wenngleich die Umstellung auf ISO-Normen sich durchsetzen wird. DIN-Normen werden weiter bestehen für Teile, welche nicht nach ISO-/EN- genormt sind oder kein Normungsbedarf vorliegt. |
| ISO- Norm | Herausgeber: ISO (Internationale Organisation für Standardisierung,
engl. International Organization for Standardization). = internationale Norm Der Begriff "ISO" stammt vom griechischen Begriff für "gleich"; ab. ISO-Normen haben weltweit Gültigkeit und eignen sich daher zur Verwendung im Welthandel. Wenngleich die ISO-Normung immer mehr an Bedeutung gewinnt, war lange Zeit die Deutsche DIN Standard in Sachen Normung weltweit. |
| EN-Norm |
Herausgeber: Europäisches Komitee für
Normung, engl. = europäische Norm |
| DIN-EN- Norm | = nationale deutsche Ausgabe einer unverändert übernommenen
EN-Norm Ist eine Normenmischung, welche besagt, dass die Normennummer (z.B. 12345) das gleiche Objekt sowohl in der DIN-Norm, als auch der EN-Norm bezeichnet. |
| DIN-EN-ISO-Norm | = nationale deutsche Ausgabe einer unverändert von ISO
übernommenen EN-Norm Ist eine Normenmischung, welche besagt, dass die Normennummer (z.B. 12345) das gleiche Objekt sowohl in der DIN-Norm, EN-Norm als auch der ISO-Norm bezeichnet |
| DIN-ISO-EN | nationale deutsche Ausgabe einer unverändert übernommenen ISO-Norm |
1.3 Was sagt eine DIN-Norm aus? (nach oben)
Die DIN-Norm bringt, wie jede Normung, Einfachheit und Standardisierung mit
sich. So reicht es, bei einer Bestellung "DIN 912, M6x16, A2-70"
anzugeben, um eine Vielzahl an Merkmalen festzulegen. Dadurch muss der Lieferant
nicht jedes Mal seine Bestände mit der Bestellung des Kunden gegenprüfen
und der Kunde kann sicher sein, dass er exakt die Ware erhält, welche
er sich vorgestellt hat.
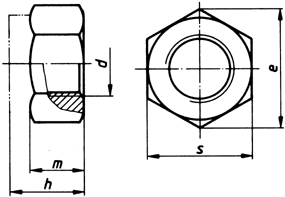
Eine Norm definiert mindestens eines der folgenden Merkmale:
|
b |
= |
Gewindelänge bei Schrauben,deren Gewinde nicht bis annähernd zum Kopf reicht (Teilgewindeschrauben) |
|
d |
= |
Gewindedurchmesser in mm |
|
e |
= |
Eckmaß am Kopf |
|
k |
= |
Kopfhöhe |
|
l |
= |
Nennlänge der Schraube; siezeigt zugleich an, wie die Länge einer Schraube gemessen wird. |
|
s |
= |
Schlüsselweite |
|
u |
= |
Gewindeloses Ende |
|
P |
= |
Gewindesteigung |
Ein Beispiel soll Ihnen erläutern, was durch die folgende Angabe ausgedrückt
wird.
|
DIN 933, M 8 x 60, A2-70 |
||
|
DIN 933 |
= |
Sechskantschraube mit Gewinde bis annähernd Kopf |
|
M |
= |
metrisches ISO-Gewinde |
|
8 |
= |
d ... Gewindedurchmesser der Schraube von 8 mm |
|
x 60 |
= |
l ... Nennlänge in mm |
|
A2 |
= |
Werkstoffklasse, Rostfreier Stahl A2 |
|
-70 |
= |
Festigkeitsklasse 70 |
|
P |
|
die Gewindesteigung wird durch eine Zahl angegeben. Fehlt diese Zahl, so wird ein Regel-gewinde bezeichnet. (M 8 x 60). Nur bei Schrauben mit abweichendem Regelgewinde wird die Steigung angegeben. z.B. M8x1 x 60 bezeichnet eine Feingewindeschraube mit einer Steigung von 1 mm |
1.4 Normenänderung (DIN > EN > ISO) (nach oben)
Die Normungen für Verbindungselemente und die Normung im Ganzen unterliegt im Moment einem Wandel. Während die früheren DIN-Normen als ausschließlich deutsche Normvorschriften galten, wurden nun mit der EN und der ISO-Norm eine Norm auf europäischer und weltweiter Ebene eingeführt. Bei vielen ISO-Normen waren die DIN-Normen Vorbild, viele Normen wurden jedoch erst mit der ISO-Norm eingeführt (z.B. ISO 7380). Die Umstellung im Handel erfolgt fließend, die Produktion von DIN und ISO-Artikeln erfolgt nebeneinander.
1.4.1 Vergleich DIN-Norm zu neuer ISO-Norm (nach oben)
Tabelle 3 zeigt einen überblick über die "Umstellung" der gängigsten DIN-Normen auf die neuen ISO-Normen.
| a) Produkt-Normen | a) Produkt-Normen | a) Produkt-Normen | a) Produkt-Normen | a) Produkt-Normen | c) Grund/Funktions-Normen | ||||||
| DIN | ISO | DIN | ISO | DIN | ISO | DIN | ISO | DIN | ISO | DIN | ISO |
|
|
DIN ISO |
|
DIN ISO |
|
DIN ISO |
|
DIN ISO |
|
DIN ISO |
|
DIN ISO |
|
|
DIN EN ISO |
|
DIN EN ISO |
|
DIN EN ISO |
|
DIN EN ISO |
|
DIN EN ISO |
|
DIN EN ISO |
| 1 | 2339 | 830* | - | 1587 | - | (6925) RG | 7042 (7719) | 28030 | - | 66 | 7721 -1,2 |
| 7 | 2338 | 835 | - | 1592-1597 | - | (6925) FG | 10513 | 28129 | - | 69 | 273 |
| 39 | - | 906-910 | - | 1804 | - | 6926** | 7043,12125 | 28152 | - | 74 | - |
| 84 | 1207 | 911 | 2936 | 1816 | - | 6927** | 7044,12126 | 32500, 32501 | 13918 | 76 -1 | 3508, 4755 |
| 85 | 1580 | 912 | 4762 | 2093 | - | 6928 | 7053,10509 | 34800-34802 | - | 76 -2 | 228 -1 |
| 93* | - | 913 | 4026 | 2507 | (EN 1515) | 7331 | - | 34803, 34804 | - | 78 | 4753 |
| 94 | 1234 | 914 | 4027 | 2509 | - | 7337 | 15973-16585 | 34810-34816 | - | 101 | 1051 |
| 95,96,97 | - | 915 | 4028 | 251 0-1 ...8 | - | 7338-7340 | - | 3481 7-34819 | - | 267 -1 | 8992 |
| 98,99 | - | 916 | 4029 | 3015-3016 | - | 7341 | 1051 | 34820 | - | 267 -2 | 4759 -1 |
| 123,124 | 1051 | 917 | - | 3017 | - | 7343 | 8750,8751 | 46258,46320 | - | 267 -3 | 898 -1 |
| 125 -1,2 | 7089,7090 | 920-927 | - | 3220 | - | 7344 | 8748 | 46288 | - | 267 -4 | 898 -2 |
| 126,134* | 7091 | 928,929 | - | 3319 | - | 7346 | 13337 | 58450 | - | 267 -5 | 3269 (16426) |
| 127*, 128* | - | 931 -1 | 4014 | 3404, 3405 | - | 7349 | - | 70613-70618 | - | 267 -6 | 4759 -1 |
| 137* | - | 931 -2 | - | 3567 | - | 7500 -1 | - | 70851* | - | 267 -7 | 898 -1 |
| 186,188 | - | 933 | 4017 | 3568 | - | 7504 | 15480-483 | 70852 | - | 267 -8 | 898 -2 |
| 258 | - | 934 RG | 4032,4033 | 3570 | - | 7513 | - | 70951* | - | 267 -9 | 4042 |
| 261 | - | 934 FG | 8673,8674 | 3575 | - | 7516 | - | 70952 | - | 267 -10 | 10684 |
| 302 | 1051 | 935 -1 | 7035,7036 | 3670 | - | 7603 | - | 71412 | - | 267 -11 | 3506 -1-4 |
| 314-318 | - | 935 -3 | 7037 | 3870, 3872 | - | 7604 | - | 71752 | - | 267 -12 | 2702 |
| 319 | - | 936 RG/FG | 4035 / 8675 | 5406 | - | 7642,7643 | - | 71 802-71 805 | - | 267 -13 | - |
| 338,340 | - | 937 | 7038 | 5417 | - | 7964 | - | 74361 | - | 267 -15 | 2320 |
| 388,390 | - | 938 - 940 | - | 5525, 5526 | - | 7965 | - | 80403 | - | 267 -18 | 8839 |
| 404 | - | 949 - 1,2 | - | 5586 | - | 7967* | - | 80701 | - | 267 -19 | 6157 -1,3 |
| 417 | 7435 | 950 - 959 | - | 5903, 5906 | - | 7968 | - | 80704 | - | 267 -20 | 6157 -2 (EN 493) |
| 427 | 2342 | 960 | 8765 | 5914 | - | 7969 | - | 80705 | - | 267 -21** | 10484 (EN 493) |
| 431 | - | 961 | 8676 | 6303 | - | 7971 | 1481 | 81698 | - | 267 -23 | 898 -6 |
| 432* | - | 963 | 2009 | 6304-6307 | - | 7972 | 1482 | 82006-82010 | - | 267 -24 | - |
| 433 -1,2 | 7092 | 964 | 2010 | 6311,6332 | - | 7973 | 1483 | 82013 | - | 267 -25 | 898 -7 |
| 434-436 | - | 965 | 7046 -1,2 | 6319 | - | 7976 | 1479 | 82101 | - | 267 -26-30 | - |
| 438 | 7436 | 966 | 7047 | 6324 | - | 7977 | 8737 | b) Gewinde-Normen | 475** |
272 (EN 1660) |
|
| 439 -1 | 4036 | 967,968 | - | 6325 | 8734 | 7978 | 8736 | 522 |
4759 -3 |
||
| 439 -2 RG/FG | 4035,8675 | (970) | 4032 | 6330,6331 | - | 7979 | 8733,8735 | 13 -1...1 1 | 724 | 918 | 1891 |
| 440 | 7094 | (971 -1,2) | 8673,8674 | 6334* | - | 7980* | - | 13 -12 | 261 | 946 | - |
| 442,443 | - | (972) | 4034 | 6335-6337 | - | 7981 | 7049 | 13 -13 | 262,965 -2 | 962 (34803) | 7378,8991 |
| 444 | - | 975 | - | 6340 | - | 7982 | 7050 | 13 -14,15 | 965 -1,2 | 969 | - |
|
|
|
|
|
|
|
|
|
13 -16...18 | 1502 |
|
|
| 462*, 463* | - | 976 - 1,2 | - | 6378 | - | 7983 | 7051 |
|
|
974 | - |
| 464, 465* | - | 977 | - | 6379 | - | 7984 | - | 13 -19 | 68-1 | 2510 -2,8 | - |
| 466,467 | - | 979 | 7038 | 6791,6792 | 1051 | 7985 | 7045 | 13 -20...26 | - | 7150-7152 | 286 |
| 468,469 | - | 980 RG | 7042 (7719) | 6796 | 10670 | 7987*, 7988* | - | 13 -27 | 965 -3 | 7154-7157 | - |
| 471,472 | - | 980 FG | 10513 | 6797* | - | 7989-1,2 | - | 13 -28 | - | 7160,7161 | 286 |
|
|
|
|
|
|
|
|
|
13 -50...52 | - |
|
|
| 478-480 | - | 982 RG | 7040 | 6798* | - | 7990 | - |
|
|
7168 | 2768,8015 |
| 508 | 299 | 982 FG | 10512 | 6799 | - | 7991 | 10642 | 14 | - | 7172,7182 | 286 |
| 525,529 | - | 985 RG | 10511 | 6881 | - | 7992 | - | 103 -1 | 2901 | 7184 | 1101 |
| 546-548 | - | 985 FG | 10512 | 6883,6884 | 2492 | 7993 | - | 103 -2 | 2902 | 7337 | 14588-589 |
| 551 | 4766 | 986 | - | 6885 -1,2 | 773 | 7095-7997 | - | 103 -3 | 2903 | 7500 -2/7504 | - / 10666 |
|
|
|
|
|
|
|
|
|
103 -4 | 2904 |
|
|
| 553 | 7434 | 987* | - | 6885 -3 | 2491 | 7999 | - |
|
|
7962 | 4757 |
| 555 | 4034 | 988 | - | 6886,6887 | 774 | 8140 | - | 103 -5...9 | - | 7970 | 1478 |
| 557 | - | 1052 | - | 6888 | 3912 | 9021 | 7093 | 202 | - | 7998 | - |
| 558 | 4018 | 1433-1436 | - | 6899 | - | 9045* | - | 2244 | 5408 | 8140 -1-3 | - |
| 561,564 | - | 1440 | 8738 | 6900 | 10644 | 9841 | 7379 | 2510 -2 | - | 9830 | - |
|
|
|
|
|
|
|
|
|
7952 | - |
|
|
| 562 | - | 1441 | - | 6901 | 10510 | 11014 | - |
|
|
18800** | - |
| 571 | - | 1443 | 2340 | 6902-6908 | 10669,10673 | 11023,11024 | - | 7970 | 1478 | 34803,34804 | - |
| 580, 582 | - | 1444 | 2341 | 6911 | - | 15058 | - | 7998 | - | 40080 | 2859 -1-3 |
| 601 | 4016 | 1445 | - | 6912 | - | 15237 | - | 8140,8141 | - | 50049 | EN 10204 |
| 603 | - | 1469 | - | 6913* | - | 16903 | - | Tabelle 3: Normenänderung DIN ==> ISO | |||
| 604-608 | - | 1470 | 8739 | 6914-691 6** | - | 18182 | - | ||||
| 609, 610* | - | 1471 | 8744 | 6917-6918 | - | 21346 | - | ||||
| 653 | - | 1472 | 8745 | 6921** | 8100,8102 | 21547 | - | ||||
| 660-662 | 1051 | 1473 | 8740 | 6922** | 4162,8104 | 22424,22425 | - | ||||
| 674,675 | 1051 | 1474 | 8741 | 6923**RG/FG | 4161,10663 | 25192 | - | ||||
| 703*, 705* | - | 1475 | 8742/8743 | (6924) RG/FG | 7040 / 10512 | 25193 | - | ||||
| 741 * | - | 1476 | 8746 | |
|
25195 | - | ||||
| 787 | 299 | 1477 | 8747 | |
|
251 97* | - | ||||
| 792 | - | 1478-1 480 | - | |
|
25200-25203 | - | ||||
| 797, 798* | - | 1481 | 8752 | |
|
26020 | - | ||||
( ) übergangs-Normen (Maße mit ISO identisch)
* ersatzlos zurückgezogene DIN-Norm, weil z. B. technisch überholt.
(Bei Ausgabe von DIN EN- / DIN EN ISO-Normen erfolgt Widerruf der DIN-Normen)
** von ISO abweichende EN-Normung: DIN 475 - 1 = EN/DIN EN 1660 DIN 6914-6916
= EN/DIN EN 14399 DIN 6921/6922 = EN/DIN EN (1662) 1665 DIN 6923 = EN/DIN EN
1661 DIN 6926 = EN/DIN EN 1663/1666 DIN 6927 = EN/DIN EN 1664/1667 ISO-Norm
zu alter DIN-Norm
1.4.2 Normenänderungen ISO ==> DIN (nach oben)
|
a) Produkt-Normen |
a) Produkt-Normen |
b) Gewinde-Normen |
|||||||||
|
ISO |
EN |
DIN |
Stichwort |
ISO |
EN |
DIN |
Stichwort |
ISO |
EN |
DIN |
Stichwort |
|
- |
1515 |
2507 |
Flansch-Verbindung |
7090 |
- |
125 -1,2 |
Scheiben, R, Form B |
68 |
- |
13 T 19 |
Gew.-Grundprofil |
|
- |
1661 |
6923 |
Flanschmuttern |
7091 |
- |
126 |
Scheiben, Regelausführ. |
228 -1...3 |
- |
259-1...3 |
Zyl.Ww-Rohrgewinde G |
|
- |
(1662), 1665 |
6921,6922 |
Flanschschrauben |
7092 |
- |
433 -1,2 |
Scheiben, Reihe klein |
261 |
- |
13-12 |
Auswahl Steigungen RG/FG |
|
- |
1663,1664 |
6926,6927 |
Flanschmuttern |
7093 - 1,2 |
- |
9021 |
Scheiben, Reihe groß |
262 |
- |
13-13 |
Gew.-Auswahlreihen |
|
- |
1666,1667FG |
6926,6927FG |
mit Klemmteil |
7094 |
- |
440 |
Scheiben, extra groß |
724 |
- |
13 |
ISO-Gew.:Grundmaße |
|
- |
1421 8,1 4219 |
- |
Flanschschrb./Mu FG |
|
|
|
|
|
|
|
|
|
- |
14399 |
6914-6916 |
HV-Verbindungen |
7379 |
- |
9841 |
Isk-Paßschrauben |
965 -1...5 |
- |
13-13...15,27 |
Grundlg./Grenzmaße |
|
|
7380 |
- |
- |
Isk-Flachrundschrauben |
1478 |
- |
7970 |
Blechschrauben-Gewinde |
|||
|
299 |
- |
508/787 |
T-Nuten/Mu/Schrauben |
7411 |
781,782 |
6914 |
HV-Schrauben |
1502 |
- |
13-16...18 |
Gew.-Lehren |
|
773 |
- |
6885 -1,2 |
Paßfedern |
7412-14,7417 |
780,783 |
6915 |
HV-Muttern |
2901-2904 |
- |
103-1...4 |
Trapez-Gewinde |
|
774 |
- |
6886,6887 |
Nasenkeile |
7415,7416 |
784,785 |
6916 |
HV-Scheiben |
5408 |
- |
2244 |
Gewinde: Begriffe |
|
1051 |
- |
660...,7341 |
Niete,Nietstifte |
|
|
|
|
|
|
|
|
|
1207 |
- |
84 |
Zylinderschrauben |
7434 |
27434 |
553 |
Gewindestifte Sp |
6410 -1...3 |
- |
27 |
Gew.-Darstellung i. TZ |
|
|
7435 |
27435 |
417 |
Gewindestifte Za |
c) Grund-/Funktions-Normen |
||||||
|
1234 |
- |
94 |
Splinte |
7436 |
27436 |
438 |
Gewindestifte Rs |
||||
|
1479 |
- |
7976 |
Sechsk.-Blechschrauben |
7719,7720 |
- |
980,6925 |
Muttern mit Klemmteil |
||||
|
1481 |
- |
7971 |
Zyl.-Blechschrauben |
8100,8102 |
1665 |
6921 |
Sechsk.-Flansch-Schr. |
225 |
20225 |
- |
MVE: Bemaßung |
|
1482 |
- |
7972 |
Senk-Blechschrauben |
272 |
1660 |
475 - 1 |
Schlüsselweiten Sechsk. |
||||
|
1483 |
- |
7973 |
Liko-Blechschrauben |
8104 |
1662 |
6922 |
Sechsk.-Flansch-Schr. |
273 |
20273 |
69 |
Durchgangslöcher f.Schrb. |
|
8673 |
- |
934,971 -1 |
Sechskant-Mu. Feingew. |
286 -1,2 |
20286 |
7150-7182 |
ISO-Toleranzen/Passungen |
||||
|
1580 |
- |
85 |
Flachkopfschrauben |
8674 |
- |
934,971 -2 |
Sechskant-Mu. Feingew. |
885 |
- |
- |
Radien unter Schrb.-Kopf |
|
2009 |
- |
963 |
Senkschrauben |
8675 |
- |
439 -2, 936 |
Muttern, niedrig, Feingew. |
|
|
||
|
2010 |
- |
964 |
Linsensenkschrauben |
8676 |
- |
961 |
Sechskant-Schrauben FG |
887 |
- |
- |
Flache Scheiben, übers. |
|
2338 |
- |
7 |
Zylinderstifte |
|
|
|
|
888 |
- |
- |
Nennlängen Schrb./Gew. |
|
2339 |
22339 |
1 |
Kegelstifte |
8733 |
- |
7979 |
Zyl.-Stifte, I-Gew. |
898 -1 |
- |
267 - 3,7 |
TL: MVE Schrauben |
|
|
|
|
|
8734 |
- |
6325 |
Zyl.-Stifte, geh. |
898 -2 |
- |
267 - 4,8 |
TL: MVE Muttern RG |
|
2340 |
22340 |
1443 |
Bolzen ohne Kopf |
8735 |
- |
7979 |
Zyl.-Stifte, I-Gew. |
898 -5 |
- |
267 - 3 |
TL: MVE Gewindestifte |
|
2341 |
22341 |
1444 |
Bolzen mit Kopf |
8736 |
28736 |
7978 |
Kegel-Stifte, I-Gew. |
|
|
|
|
|
2342 |
- |
427 |
Schaftschrauben |
8737 |
28737 |
7977 |
Kegel-Stifte, GewZa |
898 -6 |
- |
267 - 23 |
TL: MVE Muttern FG |
|
2491 |
- |
6885 -3 |
Paßfedern |
|
|
|
|
898 -7 |
- |
267 - 25 |
Torsionsversuch M 1-M 10 |
|
2492 |
- |
6883,6884 |
Nasen-/Flachkeile |
8738 |
28738 |
1440 |
Scheiben für Bolzen |
1051 |
- |
101 |
Niete: Schaftdurchmesser |
|
|
|
|
|
8739 |
- |
1470 |
Zylinderkerbstifte |
1101 |
- |
7184 |
Form-/Lage-Tolerierung |
|
2936 |
- |
911 |
Stiftschlüssel |
8740 |
- |
1473 |
Zylinderkerbstifte |
1891 |
- |
918 |
MVE: Benennungen |
|
3912 |
- |
6888 |
Scheibenfedern |
8741 |
- |
1474 |
Steckkerbstifte |
|
|
|
|
|
4014 |
- |
931 -1 |
Sechskantschrauben |
8742 |
- |
1475 |
Knebelkerbst. kK |
2320 |
- |
267 - 15 |
TL: MVE Mu. m. Klemmteil |
|
4016 |
- |
601 |
Sechskantschrauben |
|
|
|
|
2702 |
- |
267 - 12 |
TL: MVE Blechschrauben |
|
4017 |
- |
933 |
Sechskantschrauben |
8743 |
28743 |
1475 |
Knebelkerbst. IK |
2768 -1...2 |
- |
7168 - 1,2 |
Allgemein-Toleranzen |
|
|
|
|
|
8744 |
- |
1471 |
Kegelkerbstifte |
2859 |
- |
40080 |
Sichproben-Prüfungen |
|
4018 |
- |
558 |
Sechskantschrauben |
8745 |
- |
1472 |
Paßkerbstifte |
3269 |
- |
267 - 5 |
TL: MVE Annahmeprüfung |
|
4026 |
- |
913 |
Gew.-Stifte Isk-K |
8746 |
- |
1476 |
Halbrundkerbnägel |
|
|
|
|
|
4027 |
- |
914 |
Gew.-Stifte Isk-Sp |
8747 |
- |
1477 |
Senkkerbnägel |
3506 -1...4 |
- |
267 - 11 |
TL: MVE Nichtrostende |
|
4028 |
- |
915 |
Gew.-Stifte Isk-Za |
|
|
|
|
3508 |
- |
76 - 1 |
Gew.-Ausläufe/Freistiche |
|
4029 |
- |
916 |
Gew.-Stifte Isk-Rs |
8748 |
- |
7344 |
Spiralspannstifte S |
4042 |
- |
267 - 9 |
TL:galvanische überzüge |
|
|
|
|
|
8750 |
- |
7343 |
Spiralspannstifte R |
4753 |
- |
78 |
Gew.-Enden/überstände |
|
4032 |
- |
934,970 |
Sechsk.-Mu.I, RG |
8751 |
- |
7343 |
Spiralspannstifte L |
4755 |
- |
76 - 1 |
Gew.-Ausläufe/Freistiche |
|
4033 |
- |
934 |
Sechsk.-Mu.II,RG |
8752 |
- |
1481 |
Spannstifte S |
|
|
|
|
|
4034 |
- |
555,972 |
Sechskantmuttern |
8765 |
- |
960 |
Sechskant-Schrb. FG |
4757 |
- |
7962 |
Kreuzschlitze f. Schrb. |
|
4035 |
- |
439 -2, 936 |
Sechsk.-Mu.niedrig |
|
|
|
|
4759 -1...3 |
- |
267 - 2,6,522 |
Toleran. Schrb./Mu./Sch. |
|
4036 |
- |
439 - 1 |
Sechsk.-Mu.niedrig |
10509 |
- |
6928 |
Sechsk.-Flansch-Bls. |
6157 -1...3 |
- |
267 - 19 |
Oberflächenfehler Schrb. |
|
|
|
|
|
10510 |
- |
6901 |
Kombi-Blechschrauben |
6157 -2 |
(493) |
267 - 20,21 |
Oberflächenfehler Mu. |
|
4161 |
1661 |
6923 |
Sechsk.-Flansch-Mu. |
10511 |
- |
985 |
Muttern m. Klemmteil |
7085/7500-1 |
- |
- |
Gew.- furch. Schrauben |
|
4162 |
1662, 1665 |
6922 |
Sechsk.-Flansch-Schr. |
10512 |
- |
982,6924 |
Muttern m. Klemmteil |
|
|
|
|
|
4762 |
- |
912 |
Isk-Zylinderschrauben |
10513 |
- |
980,6925 |
Muttern m. Klemmteil |
7378 |
- |
962 |
Splint-/Sicherungslöcher |
|
4766 |
24766 |
551 |
Gewindestifte K |
|
|
|
|
7721 |
- |
- |
Senkköpfe: Gestaltung |
|
4775 |
780,783 |
6915 |
HV-Muttern |
10642 |
- |
7991 |
Isk-Senkschrauben |
8749 |
- |
- |
Stifte:Scherversuch |
|
|
|
|
|
10644 |
- |
6900 |
Kombi-Schrauben |
8839 |
28839 |
267 - 18 |
TL: MVE Nichteisen-Wst. |
|
7035,7036 |
- |
935 -1 |
Kronenmuttern |
10663 |
1661 |
6923 |
Sechsk.-Flansch-Mu. FG |
8991 |
- |
962 |
Bezeichnungssystem MVE |
|
7037 |
- |
935 -3 |
Kronenmuttern |
10669/673 |
- |
6903/6902 |
Scheiben f. Kombischr. |
|
|
|
|
|
7038 |
- |
937/979 |
Kronenmuttern,flach |
10670 |
- |
6796 |
Spannscheiben |
8992 |
- |
267 - 1 |
TL:Allgem.Anforderungen |
|
7040,7041 |
- |
982,6924 |
Muttern mit Klemmteil |
|
|
|
|
- |
10204 |
50049 |
Prüfbescheinigungen |
|
7042 |
- |
980,6925 |
Muttern mit Klemmteil |
12125 |
- |
6926 |
Flansch.-Mu m.Klemmteil |
10484 |
(493) |
267 - 21 |
Aufweitversuch Muttern |
|
|
|
|
|
12126 |
- |
6927 |
Flansch.-Mu m. Klemmteil |
10644 |
- |
6900-1 |
Kombi-Schrb. Härten |
|
7043 |
1663/1666 |
6926 |
Flansch.-Mu m. Klemmteil |
13337 |
- |
7346 |
Spannstifte L |
10664 |
- |
- |
Innensechsrund-Antrieb |
|
7044 |
1664/1667 |
6927 |
Flansch.-Mu m. Klemmteil |
13918 |
- |
32500 |
Bolzen f. B-Schweißen |
||||
|
7045 |
- |
7985 |
Linsenzyl.-Schr. KS |
14579...587 |
- |
- |
Innensechsrund-Schr. |
10666 |
- |
7504 |
ME Bohrschrauben |
|
7046 -1,2 |
- |
965 |
Senkschrauben KS |
|
|
|
|
10683 |
- |
- |
Zinklamellen-überzüge |
|
7047 |
- |
966 |
Linsensenkschr. KS |
14588 |
- |
7337 |
Blindniete, Begriffe |
10684 |
- |
267-10 |
Feuerverzinkung |
|
|
|
|
|
15071...073 |
- |
- |
Flanschrb. leichte R. |
12683 |
- |
- |
Mech. Zinkplattierun |
|
7048 |
- |
- |
Zylinderschr. KS |
15480...483 |
- |
7504 |
Bohrschrauben |
- |
13811 |
- |
Sheadisieren |
|
7049 |
- |
7981 |
Liko-Blechschr. KS |
15973...984 |
- |
7337 |
Blindniete |
|
|
|
|
|
7050 |
- |
7982 |
Senk-Blechschr. KS |
16582 -585 |
- |
7337 |
Blindniete |
14588...589 |
- |
7337 |
Blindniete |
|
7051 |
- |
7983 |
Linsensenk-Bls. KS |
|
|
|
|
15330 |
- |
- |
Wasserstoffverspr. |
|
7053 |
- |
6928 |
Sechsk.-Bund-Bls. |
21269 |
- |
- |
Zyl.schr.lsk FG |
16048 |
- |
- |
Passivierung f. Niro-St. |
|
7089 |
- |
125 -1,2 |
Scheiben, R, Form A |
21670 |
- |
977 |
Schweißmuttern m. Flansch |
16426 |
- |
- |
MVE: QS-System |
Tabelle 4: Normenänderung ISO ==>DIN
Zeichenerklärung zu Tabelle 4:
| Isk | Innensechskant |
| K | KS Kegelkuppe / Kreuzschlitz |
| ME | Mechanische Eigenschaften |
| MVE | Mechanische Verbindungselemente |
| RG / FG | Regelgewinde / Feingewinde |
| R / S / L | Regel- /Schwere- / Leichte Ausführung |
| Rs / Sp / Za | Ringschneide / Spitze / Zapfen |
| TL | Technische Lieferbedingungen |
| TZ | Technische Zeichnungen |
1.4.3 DIN => ISO (Schlüsselweiten Schrauben und Muttern, Mutternhöhe) (nach oben)
|
Artikelgruppe |
vormals |
neu DIN ISO DIN EN ISO |
Abmessungen |
Veränderungen |
|
1.
Sechskant-Schr. vorliegen |
558 |
4018 |
M 10, 12, 14, 22 |
neue ISO-Schlüsselweiten |
|
931 |
4014 |
|||
|
933 |
4017 |
|||
| |
960 |
8765 |
alle übrigen Ø |
keine = DIN und ISO identisch |
|
961 |
8676 |
|||
|
601
Mu |
4016
Mu |
M 10,12,14,22 |
Schrauben:
neue ISO-Schlüsselweiten |
|
|
übrige Ø bis M 39 |
Schrauben: keine = DIN und ISO ident. Muttern: neue ISO-Höhen |
|||
|
übrige Ø über M 39 |
keine = DIN und ISO identisch |
|||
|
2. Sechskant-Schrauben, ohne ISO-/EN-Normen |
561 |
- |
Ø M 12, 16 |
neue ISO-Schlüsselweiten |
|
564 |
- |
alle übrigen Ø |
keine |
|
|
609 |
- |
Ø M 10, 12, 14, 22 |
neue ISO-Schlüsselweiten |
|
| |
~ 610 |
- |
alle übrigen Ø |
keine |
|
7968
Mu |
Schrauben:
- |
M 12, (22) |
Schrauben:
neue ISO-Schlüsselweiten |
|
|
m. Mu 555 |
|
alle übrigen Ø |
Schrauben: keine Muttern: neue ISO-Höhen |
|
|
3.
Schrauben ohne |
186/261
Mu 529
Mu |
Schrauben: - Muttern
nach |
Ø
M 10, 12, 14, 22 |
Schrauben:
keine |
|
- mit
Sechskantmuttern, |
||||
|
alle übrigen Ø |
Schrauben:
keine |
|||
| |
||||
|
4. Sechskantmuttern, ohne ISO-/EN-Normen
|
439-1 |
4036 |
Ø M 10, 12, 14, 22 |
neue ISO-Schlüsselweiten |
|
(A = ohne Fase) |
|
|
(keine Höhenveränderung) |
|
![]() |
439-2 (B = mit Fase) |
4035 8675 = Fein-Gewinde |
alle übrigen Ø |
keine = DIN und ISO identisch (keine Höhenänderung) |
| |
555 |
4034 (ISO-Typ 1) |
Ø M 10,12,14,22 |
neue ISO-SW + neue ISO-Höhen |
|
934 Fkl.
6,8,10 |
4032 |
übrige Ø M 5 - M 39 |
neue
ISO-Höhen |
|
|
4033 |
Ø unter M 5 Ø über M 39 |
keine = DIN und ISO identisch |
||
|
8673 = Fein-Gewinde (ISO-Typ 1) |
||||
|
5. Muttern, für die keine |
557 |
- |
Ø M 10, 12, 14, 22 |
neue ISO-Schlüsselweiten |
|
ISO-/EN-Normen vorliegen |
alle übrigen Ø |
keine |
||
| |
1.4.4 DIN => ISO (Schlüsselweiten Schrauben und Muttern, Mutternhöhe) (nach oben)
|
|
|
|
s = Schlüsselweite bei Sechskantschrauben |
s = Schlüsselweite bei Sechskantmuttern |
|
Nennmaß d |
Schlüsselweite s |
Mutternhöhe m min-max |
|||||
|
(möglichst |
DIN |
ISO |
DIN |
ISO |
DIN |
ISO |
ISO |
|
555 |
4034 |
934 |
4032 |
4033 |
|||
|
8673 |
|
||||||
|
ISO-Typ 1 |
ISO-Typ 2 |
||||||
|
M 1 |
2,5 |
-
|
-
|
0,55 - 0,8 |
- |
- |
|
|
M 1,2 |
3 |
|
0,75 - 1,0 |
- |
- |
||
|
M 1,4 |
3 |
|
0,95 - 1,2 |
- |
- |
||
|
M 1, 6 |
3,2 |
1,05 - 1,30 |
1,05 - 1,3 |
- |
|||
|
M 2 |
4 |
1,35 - 1,60 |
1,35 - 1,6 |
- |
|||
|
M 2,5 |
5 |
1,75 - 2,00 |
1,75 - 2,0 |
- |
|||
|
M 3 |
5,5 |
2,15 - 2,40 |
2,15 - 2,4 |
- |
|||
|
(M 3,5) |
6 |
2,55 - 2,80 |
2,55 - 2,8 |
- |
|||
|
M 4 |
7 |
2,90 - 3,20 |
2,90 - 3,2 |
- |
|||
|
M 5 |
8 |
|
3,4 - 4,6 |
4,4 -5,6 |
3,70 - 4,00 |
4,40 - 4,7 |
4,8 - 5,1 |
|
M 6 |
10 |
|
4,4 - 5,6 |
4,6 -6,1 |
4,70 - 5,00 |
4,90 - 5,2 |
5,4- 5,7 |
|
(M 7) |
11 |
|
- |
- |
5,20- 5,50 |
- |
- |
|
M 8 |
13 |
|
5,75 - 7,25 |
6,4-7,9 |
6,14- 6,50 |
6,44 - 6,8 |
7,14 - 7,5 |
|
M 10 |
17 |
16 |
7,25 - 8,75 |
8 -9,5 |
7,64 - 8,00 |
8,04 - 8,4 |
8,94 - 9,3 |
|
M 12 |
19 |
18 |
9,25 - 10,75 |
10,4-12,2 |
9,64 - 10,00 |
10,37 - 10,8 |
11,75- 12 |
|
(M 14) |
22 |
21 |
- |
12,1 -13,9 |
10,3- 11 |
12,1 - 12,8 |
13,4 - 14,1 |
|
M 16 |
24 |
|
12,1 - 13,9 |
14,1 -15,9 |
12,3- 13 |
14,1 - 14,8 |
15,7 - 16,4 |
|
(M 18) |
27 |
|
- |
15,1 -16,9 |
14,3- 15 |
15,1 - 15,8 |
- |
|
M 20 |
30 |
|
15,1 - 16,9 |
16,9-19 |
14,9- 16 |
16,9 - 18 |
19- 20,3 |
|
(M 22) |
32 |
34 |
17,1 - 18,9 |
18,1 -20,2 |
16,9 - 18 |
18,1 - 19,4 |
- |
|
M 24 |
36 |
|
17,95 - 20,05 |
20,2-22,3 |
17,7- 19 |
20,2 - 21,5 |
22,6- 23,9 |
|
(M 27) |
41 |
|
20,95 - 23,05 |
22,6 -24,7 |
20,7 - 22 |
22,5 - 23,8 |
- |
|
M 30 |
46 |
|
22,95 - 25,05 |
24,3 -26,4 |
22,7 - 24 |
24,3 - 25,6 |
27,3 - 28,6 |
|
(M 33) |
50 |
|
24,95 - 27,05 |
27,4 -29,5 |
24,7 - 26 |
27,4 - 28,7 |
- |
|
M 36 |
55 |
|
27,95 - 30,05 |
28 -31,5 |
27,4 - 29 |
29,4 - 31 |
33,1 - 34,7 |
|
(M 39) |
60 |
|
29,75 - 32,25 |
31,8 -34,3 |
29,4 - 31 |
31,8 - 33,4 |
- |
|
M 42 |
65 |
|
32,75 - 35,25 |
32,4 -34,9 |
32,4 - 34 |
32,4 - 34 |
- |
|
(M 45) |
70 |
|
34,75 - 37,25 |
34,4 -36,9 |
34,4 - 36 |
34,4 - 36 |
- |
|
M 48 |
75 |
|
36,75 - 39,25 |
36,4 -38,9 |
36,4 - 38 |
36,4 - 38 |
- |
|
(M 52) |
80 |
|
40,75 - 43,25 |
40,4 -42,9 |
40,4 - 42 |
40,4 - 42 |
- |
|
M 56 |
85 |
|
43,75 - 46,25 |
43,4 -45,9 |
43,4 - 45 |
43,4 - 45 |
- |
|
(M 60) |
90 |
|
46,75 - 49,25 |
46,4 -48,9 |
46,4 - 48 |
46,4 - 48 |
- |
|
M 64 |
95 |
|
49,5 - 52,5 |
49,4 -52,4 |
49,1 - 51 |
49,1 - 51 |
- |
|
> M 64 |
- |
|
bis M 100 x 6 |
- |
bis M 160 x 6 |
- / - |
- |
Tabelle 6: Normenänderungen DIN-ISO (Schlüsselweite)
1.4.5 DIN =>ISO (Bolzen, Stifte, Gewindestifte und Scheiben für Bolzen) (nach oben)
Die wichtigsten Veränderungen sind in der Tabelle aufgeführt. Die
Umstellung erfolgt in angemessener übergangszeit.
|
Artikelgruppe |
vormals |
neu |
Die wichtigsten änderungen |
|
Kegelstifte, |
1 |
2339 |
- Länge
L
neu nach ISO inkl. Kuppen |
|
7 |
2338 |
- Länge
L neu nach ISO inkl. Kuppen |
|
|
6325 |
8734 |
- Neu:
Form A mit Fase/Kuppe, durchgehärtet |
|
|
7977 |
8737 |
- Keine gravierenden änderungen |
|
|
7978 |
8736 |
(DIN 7979/C ~ ISO 8733 [ungehärtet] |
|
|
7979/D |
8733, 8735 |
DIN 7979/D ~ ISO 8735/A [durchgehärtet]) |
|
|
Kerbstifte, |
1470 |
8739 |
- Länge
L neu nach ISO inkl. Kuppen |
|
1471 |
8744 |
||
|
1472 |
8745 |
||
|
1473 |
8740 |
||
|
1474 |
8741 |
||
|
1475 |
8742 |
||
|
- |
8743 |
- Neu:
Knebelkerbstift, |
|
|
1476 |
8746 |
- Form A = keine gravierenden änderungen |
|
|
1477 |
8747 |
- Zusätzlich Form B mit Einführende |
|
|
Spannstifte, |
1481 |
8752 |
- Form
A = Regelausführung bis Ø ≤ 12 mm |
|
7343 |
8750 |
- Keine größeren änderungen |
|
|
7344 |
8748 |
||
|
7346 |
13337 |
||
|
- |
8749 |
- Neu: Stifte, Kerbstifte: Scherversuch |
|
|
- |
8751 |
- Neu: Spiral-Spannstifte, leichte Ausführung |
|
|
Gewindestifte mit Schlitz |
417 |
7435 |
- Keine größeren änderungen |
|
438 |
7436 |
- DIN und ISO nahezu identisch |
|
|
551 |
4766 |
||
|
553 |
7434 |
||
|
Bolzen ![]() |
1443 |
2340 |
- Teilweise andere Nennlängen |
|
1444 |
2341 |
- Längentoleranzen geändert |
|
|
1433 |
- |
- DIN-Normen
wurden zurückgezogen |
|
|
1434 |
- |
||
|
1435 |
- |
||
|
1436 |
- |
||
|
Scheiben
für Bolzen |
1440 |
8738 |
- Einige
Außen-Ø und Dicken geändert |
|
1441 |
- |
- Keine ISO-Norm vorgesehen |
Tabelle 7: Normenänderung DIN-ISO (Bolzen)
1.4.6 DIN => ISO (Gewindeschrauben, Blechschrauben) (nach oben)
ISO-Normen für Gewinde- und Blechschrauben enthalten gegenüber DIN-Normen
folgende änderungen:
Die Tabellen zeigen Normnummernänderung DIN-ISO (Tabelle 8) und Kopfmaßänderungen
DIN-ISO (Tabelle 9-13)
|
Gewindeschrauben |
Blechschrauben |
||||
|
DIN |
ISO |
DIN |
ISO | ||
|
Produktnormen: |
|||||
|
84 |
1207 |
7971 | 1481 | ||
|
85 |
1580 |
7972 | 1482 | ||
|
963 |
2009 |
7973 | 1483 | ||
|
964 |
2010 |
7976 | 1479 | ||
|
965 |
7046-1, |
2 |
7981 | 7049 | |
|
966 |
7047 |
7982 | 7050 | ||
|
7985 |
7045 |
7983 | 7051 | ||
|
- |
7048 |
||||
|
Grundnormen: |
|||||
|
267-2 |
4759-1 |
267-12 | 2702 | ||
|
267-3 |
898-1 |
7962 | 4757 / |
7721-2 |
|
| 7970 | 1478 | ||||
Tabelle 9: Zylinderschrauben mit Schlitz
|
Angaben in mm |
|
Metrische Schrauben |
ISO 1207 |
||||||||||||||
|
|
Gewinde |
M 1 |
M 1,2 |
M 1,4 |
M 1,6 |
(M1,8) |
M 2 |
M 2,5 |
M 3 |
(M 3,5) |
M 4 |
M 5 |
M 6 |
M 8 |
M 10 |
||
|
max. |
ISO (neu) |
- |
- |
- |
3 |
- |
3,8 |
4,5 |
5,5 |
6 |
7 |
8,5 |
10 |
13 |
16 |
||
|
Kopfdurchmesser |
DIN (alt) |
2 |
2,3 |
2,6 |
3 |
3,4 |
3,8 |
4,5 |
5,5 |
6 |
7 |
8,5 |
10 |
13 |
16 |
||
|
max. |
ISO (neu) |
- |
- |
- |
1,1 |
- |
1,4 |
1,8 |
2 |
2,4 |
2,6 |
3,3 |
3,9 |
5 |
6 |
||
|
Kopfhöhe |
DIN (alt) |
0,7 |
0,8 |
0,9 |
1 |
1,2 |
1,3 |
1,6 |
2 |
2,4 |
2,6 |
3,3 |
3,9 |
5 |
6 |
||
Tabelle 10:
Sechskant-Blechschrauben
|
Angaben in mm |
|
Blechschrauben |
ISO 1479 |
||||||||||
|
|
Gewinde |
ST 2,2 |
ST 2,9 |
ST 3,5 |
(ST 3,9) |
ST 4,2 |
ST 4,8 |
(ST 5,5) |
ST 6,3 |
ST 8 |
ST 9,5 |
||
| max. | ISO (neu) |
1,6 |
2,3 |
2,6 |
- |
3 |
3,8 |
4,1 |
4,7 |
6 |
7,5 |
||
| Kopfhöhe | DIN (alt) |
1,42 |
1,62 |
2,42 |
2,42 |
2,92 |
3,12 |
4,15 |
4,95 |
5,95 |
- |
||
Tabelle 11: Senkschrauben mit Schlitz
oder Kreuzschlitz
| Angaben in mm |
|
Metrische
Schrauben |
|||||||||
|
|
Gewinde |
M 1,6 |
M 2 |
M 2,5 |
M 3 |
M 3,5 |
M 4 |
M 5 |
M 6 |
M 8 |
M 10 |
|
max. |
ISO (neu) |
3 |
3,8 |
4,7 |
5,5 |
7,3 |
8,4 |
9,3 |
11,3 |
15,8 |
18,3 |
|
Kopfdurchmesser |
DIN (alt) |
3 |
3,8 |
4,7 |
5,6 |
6,5 |
7,5 |
9,2 |
11 |
14,5 |
18 |
|
max. |
ISO (neu) |
1 |
1,2 |
1,5 |
1,65 |
2,35 |
2,7 |
2,7 |
3,3 |
4,65 |
5 |
|
Kopfhöhe |
DIN (alt) |
0,96 |
1,2 |
1,5 |
1,65 |
1,93 |
2,2 |
2,5 |
3 |
4 |
5 |
|
|
|
Blechschrauben |
|||||||||
|
|
Gewinde |
ST 2,2 |
ST 2,9 |
ST 3,5 |
ST 3,9 |
ST 4,2 |
ST 4,8 |
ST 5,5 |
ST 6,3 |
ST 8 |
ST 9,5 |
|
max. |
ISO (neu) |
3,8 |
5,5 |
7,3 |
- |
8,4 |
9,3 |
10,3 |
11,3 |
15,8 |
18,3 |
|
Kopfdurchmesser |
DIN (alt) |
4,3 |
5,5 |
6,8 |
7,5 |
8,1 |
9,5 |
10,8 |
12,4 |
- |
- |
|
max. |
ISO (neu) |
1,1 |
1,7 |
2,35 |
- |
2,6 |
2,8 |
3 |
3,15 |
4,65 |
5,25 |
|
Kopfhöhe |
DIN (alt) |
1,3 |
1,7 |
2,1 |
2,3 |
2,5 |
3 |
3,4 |
3,8 |
- |
- |
Tabelle 12: Flachkopfschrauben mit Schlitz
| Angaben in mm |
|
Metrische Schrauben |
ISO 1580 |
||||||||
|
|
Gewinde |
M 1,6 |
M 2 |
M 2,5 |
M 3 |
M 3,5 |
M 4 |
M 5 |
M 6 |
M 8 |
M 10 |
|
max. |
ISO (neu) |
3,2 |
4 |
5 |
5,6 |
7 |
8 |
9,5 |
12 |
16 |
20 |
|
Kopfdurchmesser |
DIN (alt) |
- |
- |
- |
6 |
7 |
8 |
10 |
12 |
16 |
20 |
|
max. |
ISO (neu) |
1 |
1,3 |
1,5 |
1,8 |
2,1 |
2,4 |
3 |
3,6 |
4,8 |
6 |
|
Kopfhöhe |
DIN (alt) |
- |
- |
- |
1,8 |
2,1 |
2,4 |
3 |
3,6 |
4,8 |
6 |
|
|
|
Blechschrauben |
ISO
1481 |
||||||||
|
|
Gewinde |
ST 2,2 |
ST 2,9 |
ST 3,5 |
ST 3,9 |
ST 4,2 |
ST 4,8 |
ST 5,5 |
ST 6,3 |
ST 8 |
ST 9,5 |
|
max. |
ISO (neu) |
4 |
5,6 |
7 |
- |
8 |
9,5 |
11 |
12 |
16 |
20 |
|
Kopfdurchmesser |
DIN (alt) |
4,2 |
5,6 |
6,9 |
7,5 |
8,2 |
9,5 |
10,8 |
12,5 |
- |
- |
|
max. |
ISO (neu) |
1,3 |
1,8 |
2,1 |
- |
2,4 |
3 |
3,2 |
3,6 |
4,8 |
6 |
|
Kopfhöhe |
DIN (alt) |
1,35 |
1,75 |
2,1 |
2,25 |
2,45 |
2,8 |
3,2 |
3,65 |
- |
- |
Tabelle 13: Flachkopfschrauben (Linsenschrauben) mit Kreuzschlitz
| Angaben in mm |
|
Metrische Schrauben |
ISO 7045 |
||||||||
|
|
Gewinde |
M 1,6 |
M 2 |
M 2,5 |
M 3 |
M 3,5 |
M 4 |
M 5 |
M 6 |
M 8 |
M 10 |
|
max. |
ISO (neu) |
3,2 |
4 |
5 |
5,6 |
7 |
8 |
9,5 |
12 |
16 |
20 |
|
Kopfdurchmesser |
DIN (alt) |
3,2 |
4 |
5 |
6 |
7 |
8 |
10 |
12 |
16 |
20 |
|
max. |
ISO (neu) |
1,3 |
1,6 |
2,1 |
2,4 |
2,6 |
3,1 |
3,7 |
4,6 |
6 |
7,5 |
|
Kopfhöhe |
DIN (alt) |
1,3 |
1,6 |
2 |
2,4 |
2,7 |
3,1 |
3,8 |
4,6 |
6 |
7,5 |
|
|
|
Blechschrauben |
ISO
7049 |
||||||||
|
|
Gewinde |
ST 2,2 |
ST 2,9 |
ST 3,5 |
ST 3,9 |
ST 4,2 |
ST 4,8 |
ST 5,5 |
ST 6,3 |
ST 8 |
ST 9,5 |
|
max. |
ISO (neu) |
4 |
5,6 |
7 |
- |
8 |
9,5 |
11 |
12 |
16 |
20 |
|
Kopfdurchmesser |
DIN (alt) |
4,2 |
5,6 |
6,9 |
7,5 |
8,2 |
9,5 |
10,8 |
12,5 |
- |
- |
|
max. |
ISO (neu) |
1,6 |
2,4 |
2,6 |
- |
3,1 |
3,7 |
4 |
4,6 |
6 |
7,5 |
|
Kopfhöhe |
DIN (alt) |
1,8 |
2,2 |
2,6 |
2,8 |
3,05 |
3,55 |
3,95 |
4,55 |
- |
- |