DIN 5406 Sicherungsbleche für Nutmuttern nach DIN 981

DIN 5406 Sicherungsbleche sind besondere Sicherungsmittel für Nutmuttern nach DIN 981. Die abstehenden Sicherungszähne sichern das Werkstück, die angebrachte Nase sichert das Bauteil gegen die Nutmutter ab. Sicherungsbleche sind Stanzteile aus Blech, welche durch die Lappen eine Sicherungswirkung entfalten. Wenn sie aufgebogen werden, verhindert die Lasche die Drehung eines Sechskantkopfes.


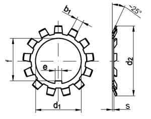
Technische Maße für DIN 5406 Sicherungsbleche für Nutmuttern nach DIN 981

Legende:
s
= Stärke (Blech)
d2
= Durchmesser-Außen
d1
= Durchmesser-Innen
e
= Breite-Nase
f
= Abstand Nase zu Durchmesser-Innen
Maße
= Durchmesser-Welle (Nennmaß)
b1
= Breite-Sicherungsfahne

MaßeMB 0MB 1MB 2MB 3MB 4MB 5MB 6MB 7MB 8MB 9MB 10MB 11MB 12MB 13MB 14MB 15
d110121517202530354045505560657075
d2212528323642495762697481869298104
e3344455566688888
f8,510,513,515,518,52327,532,537,542,547,552,557,562,566,571,5
b13344455666677788
s11111,251,251,251,251,251,251,251,51,51,51,51,5
f. Nutmutter DIN 981KM 0KM 1KM 2KM 3KM 4KM 5KM 6KM 7KM 8KM 9KM 10KM 11KM 12KM 13KM 14KM 15
MaßeMB 16MB 17MB 18MB 19MB 20MB 21MB 22MB 23MB 24MB 25MB 26MB 27MB 28MB 29MB 30 
d180859095100105110115120125130135140145150 
d2112119126133142145154159164170175185192202205 
e101010101212121214141414161616 
f76,581,586,591,596,5100,5105,5110,5115120125130135140145 
b18810101012121212121214141414 
s1,751,751,751,751,751,751,7522222222 
f. Nutmutter DIN 981KM 16KM 17KM 18KM 19KM 20KM 21KM 22KM 23KM 24KM 25KM 26KM 27KM 28KM 29KM 30 

weitere Informationen

Alle Angaben ohne Gewähr, Gewährleistung oder Haftung.


Version 3.25.2 - Servername: WEBAPP12